STMicroelectronics STMicroelectronics LSM9DS1 iNEMO 慣性モジュール
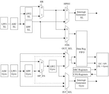
STMicroelectronics LSM9DS1 iNEMO 慣性モジュールは、3Dデジタルリニア加速度センサ、3Dデジタル角速度センサ、3Dデジタル磁気センサを搭載したシステム・イン・パッケージです。リニア加速度フルスケール±2g/±4g/±8g、磁場フルスケール±4/±8/±12/±16ガウス、角速度±245/±500/±2000dps。I2Cシリアルバスインターフェースを搭載し、標準および高速モード(100kHz、400kHz)、SPIシリアル標準インターフェースをサポートしています。磁力計、加速度計、姿勢制御装置の感知は、パワーダウンモードで個別にオンまたは設定して、スマートパワー管理を行えます。プラスチック製のランド・グリッド・アレイ型パッケージを採用し、-40°C~+85°Cの幅広い温度範囲で動作を保証されています。特徴
- 3 acceleration channels, 3 angular rate channels, 3 magnetic field channels
- ±2/±4/±8g linear acceleration full scale
- ±4/±8/±12/±16 gauss magnetic full scale
- ±245/±500/±2000dps angular rate full scale
- 16-bit data output
- SPI / I2C serial interfaces
- Programmable interrupt generators
- Analog supply voltage 1.9V to 3.6V
- "Always-on" eco power mode down to 1.9mA
- Embedded temperature sensor
- Embedded FIFO
- Position and motion detection functions
- Click/double-click recognition
- Intelligent power saving for handheld devices
アプリケーション
- Indoor navigation
- Smart user interfaces
- Advanced gesture recognition
- Gaming and virtual reality input devices
- Display/map orientation and browsing
The STMicroelectronics LSM9DS1 iNEMO Inertial Module is available in a plastic land grid array package (LGA) and it is guaranteed to operate over an extended temperature range from -40°C to +85°C.
公開: 2014-09-12
| 更新済み: 2022-03-11
