STMicro ST25R300 NFCリーダーを使用すると、厳しい条件下であっても、ノイズの多いLCDの後ろにアンテナを搭載した迅速なEMVCo認証サイクルが可能になります。このデバイスには、先進的なアナログフロントエンド(AFE)と、より高いビットレート、NFC-F(FeliCa™)、212kbpsまでのNFC-V(ISO15693)、およびNFC-A/NFC-Fカードエミュレーションを含む、リーダーNFC-A/B(ISO14443A/B))用の高度に統合されたデータフレームシステムが含まれています。AFEおよびフレーミングシステムの特殊低レベルモードは、リーダーまたはカードエミュレーション動作で他のカスタムプロトコルを適用できます。このデバイスには、動的電力出力が備わった高無線周波数(RF)電力が備わっており、アンテナを直接かつ効率的に駆動できます。リーダーは、アクセス制御およびEMVCoリーダーの小型アンテナサイズであっても大きなインタラクション距離に到達します。このデバイスは、アンテナ信号の実部と虚部を表すIチャンネルとQチャンネルを測定することで、長距離かつ低消費電力のカード検出を実現します。このアプローチによって、電力消費が最小限に抑えられます。
ST25R300は、広い電源範囲(2.7V~6,0V)、周囲温度範囲-40°C~ +105°C、広い周辺I/O電圧範囲(1.65V~5.5V)で動作するように作成されています。高RF出力電力、低消費電力モード、広い電源範囲の組み合わせのおかげで、すべてのNFCアプリケーションに最適です。
特徴
- 動作モード
- リーダー/ライター
- カードエミュレーション
- RF通信-リーダー/ライター
- EMVCo PCD 3.2aアナログおよびデジタル準拠
- NFC-A/ISO/IEC 14,443A最大848kbit/s
- NFC-B/ISO/IEC 14443B最大848kbit/s
- NFC-V/ISO/IEC 15693最大212kbit/s
- NFC-F/FeliCa 最大424kbit/s
- MIFARE Classic®準拠、およびその他のカスタムプロトコル(Kovio BC、CTS、B')を実装するための低レベルモード
- 電気的特性
- 2.7V〜6,0Vの広い電源電圧範囲
- 広範な周辺通信供給範囲:1.65V~5.5V
- 広範な周囲温度範囲:-40°C~ +105°C
- 高速起動が備わった27.12MHz水晶での動作が可能な水晶発振器
- RF通信 - カードエミュレーション
- NFC-A/ISO/IEC 14,443A 106kbit/s
- NFC-F/FeliCa 212kbit/424kbit/s
- 主な特性
- パッシブP2Pモード
- NFC Forum汎用デバイス
- USI WLCリーダーデバイス
- 低消費電力誘導カード検出
- ベースバンドチャンネル加算付きI/Qデモジュレータ
- 所定の制限内に収まるように電界強度を制御する動的電力出力(DPO)
- オーバーシュートとアンダーシュートの両方を削減するアクティブウェーブシェーピング(AWS)
- ノイズの多い環境での受信が可能になるノイズ抑制レシーバ(NSR)
- シリアル・ペリフェラル・インターフェイス(SPI)最大10Mbit/s
- 1つの差動または2つの独立したシングルエンドアンテナを駆動する可能性
アプリケーション
- EMVCo PCD 3.2a準拠の非接触型決済端子
- アクセス制御
- NFC Forum準拠のNFCユニバーサルデバイス
- WPC Qi帯域外(OOB)通信とカード保護NFCリーダー
- NFCワイヤレス充電(WLC)ポーラー
- WPC Kiパワートランスミッタ(PTx)通信装置
- ISO/IEC 14443およびISO15693準拠の汎用NFCデバイス
- FeliCaリーダー/ライター
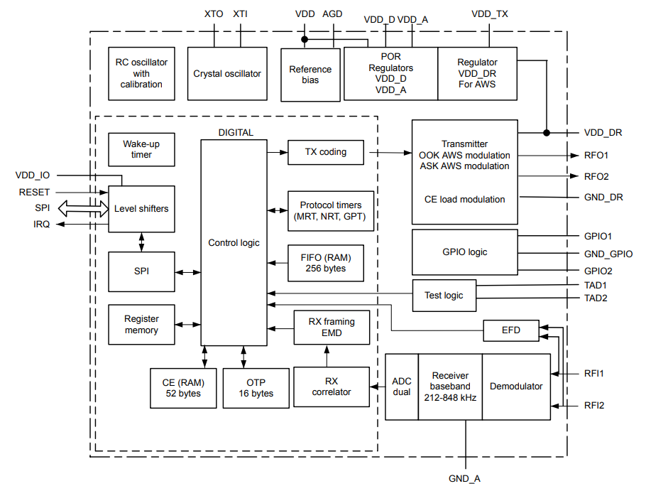
ブロック図
PTX100RDQ56D13 NFCリーダー" title="ブロック図 - STMicroelectronics ST25R300tid="0">PTX100RDQ56D13 NFCリーダー">
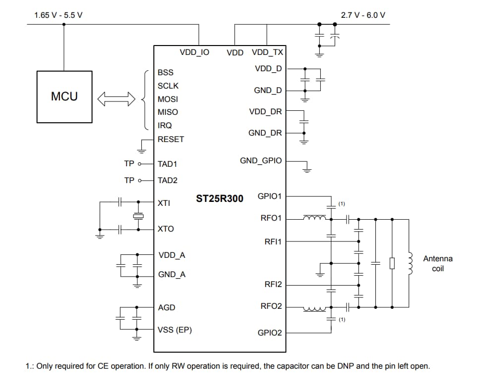
システム図
PTX100RDQ56D13 NFCリーダー" title="アプリケーション回路図 - STMicroelectronics ST25R300tid="0">PTX100RDQ56D13 NFCリーダー">
公開: 2025-04-17
| 更新済み: 2025-09-05


PTX100RDQ56D13 NFCリーダー" />