TDK InvenSense IAM-20381HT 3軸加速度計
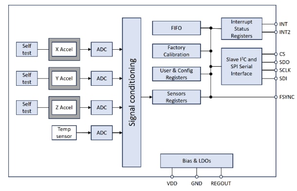
TDK InvenSense IAM-20381HT 3軸加速度センサは、4096バイトのFIFOを備えた高性能な車載グレード2加速度センサです。この加速度センサは、ウェハレベルでの結合(ウェハ同士を貼り合わせる(ボンディング)技術)を介してMEMSウェハと付属のCMOS電子機器を統合するためにCMOS-MEMS製造プラットフォームを使用しています。IAM-20381HT加速度センサは、ユーザーによるプログラムが可能な±2g、±4g、±8g、±16gの範囲、プログラム可能なデジタルフィルタ、組み込み温度センサ、オンチップ16ビットADCが特徴です。この加速度センサは、3mm x 3mm x 0.75mm 16ピンLGAパッケージに格納されています。IAM-20381HT加速度センサは、I2CおよびSPIシリアルインターフェイス、耐衝撃性10,000g、アプリケーションプロセッサの低電力動作を実現するWake-on-Motion (WoM) 割り込み機能が特徴です。この加速度センサは、自動車のアラーム、テレマティクス、傾斜測定、リフトゲートモーション検出、運転スタイル(ドライブスタイル)の記録に使用されます。特徴
- 4096バイトのFIFOバッファによって、アプリケーションプロセッサによるバーストでのデータを読み取りが可能
- デジタル出力温度センサ
- 衝撃耐性: 10,000
- 加速度計と温度センサ用のユーザーによるプログラムが可能なデジタルフィルタ
- 3mm x 3mm x 0.75mm 16ピンLGAパッケージに格納
- ユーザーによるプログラムが可能なフルスケール範囲:±2g、±4g、±8g、±16g
- 動作範囲VDD :1.71V~3.7V
- すべてのレジスタとの通信を実現する400kHz高速モードI2C
- すべてのレジスタとの通信用の8MHz SPIシリアルインターフェイス
- ウェハーレベルで密閉されたMEMS構造
アプリケーション
- カーアラーム
- テレマティクス
- リフトゲートモーション検出
- チルト測定
- インフォテインメントおよびナビゲーションシステム
- カメラ安定化システムとビジョンシステムを表示
- ヘッドアップディスプレイ(HUD) および拡張現実 (AR) ハブ
- 保険車両追跡
- 運転スタイル(ドライブスタイル)の記録
ブロック図
標準の動作回路図
テックノート
公開: 2024-04-08
| 更新済み: 2024-10-01
