Texas Instruments ADC3244E 14ビット・アナログ・デジタルコンバータ
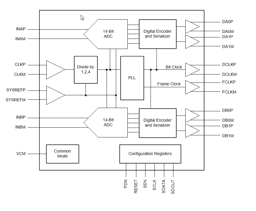
Texas Instruments ADC3244E 14ビット・アナログ・デジタル・コンバータには、高直線性、超低出力、デュアルチャンネル、14ビット、25MSPS~125MSPの範囲が備わっています。ADC3244Eは、高い入力周波数信号と広いダイナミックレンジが要求される厳しい要件に対応できるように特別に設計されています。ADC3244Eは、シリアル、低電圧、差動信号発生(LVDS)をサポートしており、インターフェイス・ラインの数の削減につながり、高システム集積密度が可能になります。各ADCからのデータはシリアル化されており、2組のLVDSで出力されます。このデバイスには、流入してくるADCサンプリング・クロックを増幅させ、各チャンネルから14ビット出力データをシリアル化するために使用されるビット・クロックを収集して引き出す内部位相ロックループ(PLL)が実装されています。フレームとビットクロックは、LVDS出力として送信されます。このデバイスは、入力クロック分周器を実現しており、システム・クロック・アーキテクチャ設計にさらなる柔軟性がもたらされます。さらに、SYSREF入力によって、完全なシステム同期が可能になります。特徴
- デュアルチャンネル
- 14ビット分解能
- 単電源: 1.8V
- シリアルLVDSインターフェイス(LVDS)
- 柔軟な入力クロックバッファ、1、2、4で分割
- SNR = 72.4dBFS、SFDR = 87dBc@fIN = 70MHz
- 超低電力消費: 116mW/Ch @ 125MSPS
- チャネル絶縁: 105dB
- 内部ディザーとチョッパー
- マルチチップ同期をサポート
- 12ビットバージョンでピンツーピン互換
- パッケージ: VQFN-48(7mm×7mm)
- 拡張温度範囲: –50°C~+105°C
アプリケーション
- マルチキャリア、マルチモードのセルラー基地局
- レーダーとスマートアンテナ配列
- 軍用誘導システム
- モータ制御フィードバック
- ネットワークとベクトルアナライザ
- 通信試験装置
- 非破壊試験
- マイクロ波受信機
- ソフトウェア無線(SDR)
- 直交無線受信機およびダイバーシティ無線受信器
- ハンドヘルドラジオおよび計測機器
ブロック図
公開: 2019-03-20
| 更新済み: 2023-08-07
