Texas Instruments ADC32J2x 12ビットアナログデジタルコンバータ(ADC)
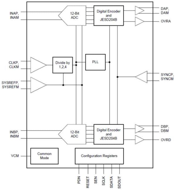
Texas Instruments ADC32J2x 12ビットアナログ・デジタルコンバータ(ADC)は、高直線性、超低消費電力、デュアルチャネル、50MSPS~160MSPのADCファミリです。このデバイスは特に、高い入力周波数信号と広いダイナミックレンジが要求される厳しい要件に対応できるように設計されています。クロック入力分周器がシステムクロックアーキテクチャ設計で大きな柔軟性を与えます。JESD204Bインターフェイスに対応し、インターフェイス接続用のライン数を削減しています。また高いシステム統合密度を可能にしています。JESD204Bインターフェイスはシリアル・インターフェイスで、各ADCのデータはシリアル化され、1つの差動対のみで出力されます。内部位相ロックループ(PLL)は受信ADCサンプリングクロックを20倍にし、各チャネルからの12ビットデータをシリアル化するために使用されるビットクロックを引き出します。最高3.2Gbpsのインターフェイス速度のサブクラス1に対応しています。特徴
- Dual channel
- 12-bit resolution
- Single 1.8V supply
- Flexible input clock buffer with divide-by-1, 2, and 4
- SNR = 70.3dBFS, SFDR = 88dBc at fIN = 70MHz
- Ultra-low power consumption:
- 227mW/Ch @ 160MSPS
- Channel isolation: 105dB
- Internal dither
- JESD204B serial interface:
- Subclass 0, 1, and 2 compliant up to 3.2Gbps
- Supports one lane per ADC up to 160MSPS
- Support for multichip synchronization
- Pin-to-Pin compatible with 14-bit version (ADC32J4X)
- VQFN-48 (7mm x 7mm) package
アプリケーション
- Multi-carrier, multi-mode cellular base stations
- Radar and smart antenna arrays
- Munitions guidance
- Motor control feedback
- Network and vector analyzers
- Communications test equipment
- Nondestructive testing
- Microwave receivers
- Software Defined Radios (SDRS)
- Quadrature and diversity radio receivers
Functional Block Diagram
TI Reference Design Tools
公開: 2015-09-11
| 更新済み: 2025-06-25
