Texas Instruments ADC34J4x 14ビット アナログ・デジタル・コンバータ(ADC)
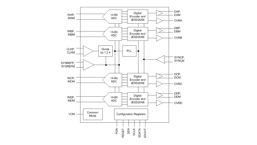
Texas InstrumentsADC34J4x 14ビット・アナログ-デジタルコンバータ (ADC) は、高直線性、超低出力、クワッド・チャネル、14ビット、50MSPS~160MSPSのアナログ-デジタルコンバータ (ADC) です。このデバイスは特に、高い入力周波数信号と広いダイナミックレンジが要求される厳しい要件に対応できるように設計されています。クロック入力分周器がシステム・クロック・アーキテクチャ設計により大きな柔軟性を与える一方、SYSREF入力が完全なシステム同期を可能にします。ADC34J4xファミリーはシリアル電流モード・ロジック (CML) とJESD204Bインターフェイスをサポートし、インターフェイス・ライン数を減らすことにより、システム統合密度を高くします。JESD204Bインターフェイスはシリアル・インターフェイスで、各ADCのデータはシリアル化され、1つの差動対のみで出力されます。内部位相ロックループ (PLL) は受信ADCサンプリング・クロックを20倍にし、各チャネルからの14ビットデータをシリアル化するために使用されるビット・クロックを導きます。ADC34J4xデバイスは、最高3.2Gbpsのインターフェイス速度のサブクラス1に対応しています。The Texas Instruments ADC34J4x family supports serial current-mode logic (CML) and JESD204B interfaces in order to reduce the number of interface lines, thus allowing high system integration density. The JESD204B interface is a serial interface, where the data of each ADC is serialized and output over only one differential pair. An internal phase-locked loop (PLL) multiplies the incoming ADC sampling clock by 20 to derive the bit clock that is used to serialize the 14-bit data from each channel. The ADC34J4x devices support subclass 1 with interface speeds up to 3.2Gbps.
特徴
- Quad channel
- 14-Bit resolution
- Single 1.8V supply
- Flexible input clock buffer with divide-by-1, -2, -4
- SNR = 72dBFS, SFDR = 86dBc at fIN = 70MHz
- Ultra-low power consumption
- 203mW/Ch at 160MSPS
- 105dB channel isolation
- Internal dither
- JESD204B serial interface
- Supports subclass 0, 1, 2
- Supports one lane per ADC up to 160MSPS
- Support for multi-chip synchronization
- Pin-to-pin compatible with 12-bit version
- VQFN-48 (7mm × 7mm) package
アプリケーション
- Multi-carrier, multi-mode cellular base stations
- Radar and smart antenna arrays
- Munitions guidance
- Motor control feedback
- Network and vector analyzers
- Communications test equipment
- Nondestructive testing
- Microwave receivers
- Software-Defined Radios (SDRs)
- Quadrature and diversity radio receivers
ビデオ
Block Diagram
公開: 2014-11-04
| 更新済み: 2025-06-23
