Texas Instruments ADS125H0x ±20Vデルタシグマ型ADC
Texas Instruments ADS125H0x ±20Vデルタシグマ型ADCは、低ノイズ・プログラマブル・ゲインアンプ(PGA)、内部リファレンス、クロック発振器と信号またはリファレンス範囲外モニタが特徴です。ADS125H0xは、±18V PGAという広い入力範囲が統合されたディスクリート・ソリューションに比べてボード領域が最大で50%削減されており、ADCがシングルパッケージに統合されています。また、このデバイスには、電圧リファレンス、および巡回冗長検査(CRC)や信号モニタといったデータの信頼性を向上させる機能も搭載されています。外部アッテネータまたは外部ゲイン段の必要性は、0.125~128(±20V〜±20mVの等価入力範囲に対応)のプログラマブル・ゲインによって排除されています。ADS125H0x ADCには、低ノイズ・低ドリフト性能が備わっており、ブリッジ抵抗温度検出器(RTD)、および熱電対センサに直接接続できます。
測定誤差は、デジタルフィルタが50SPSまたは60SPS以下のデータレートで50Hzおよび60Hzのラインサイクルノイズを減衰させると減少します。このフィルタは、チャンネル・シーケンス中の高データ・スループットのためのレイテンシのない変換データも実現しています。ADS125H01とADS125H02はピン互換性があり、–40°C~+125°Cの温度範囲に指定されています。
特徴
- ±20V入力、24ビット・デルタシグマ型ADC
- プログラマブル・データレート: 2.5SPS~40kSPS
- 高電圧、高インピーダンスPGA:
- 差動入力範囲: 最大±20V
- プログラマブル・ゲイン: 0.125~128
- コモンモード入力電圧: 最高±15.5V
- 入力インピーダンス: 1GΩ(最小)
- 高性能ADC:
- 入力ノイズ: 45nVRMS (20SPS)
- CMRR: 105dB
- 通常モード除去@ 50Hz、60Hz: 95dB
- オフセットドリフト: 5nV/°C
- ゲインドリフト: 1ppm/°C
- INL: 2ppm
- 統合機能と診断:
- 2.5Vリファレンス: 3ppm/°Cドリフト
- クロック発振器: 2.5%誤差(最大)
- 励磁電流源(ADS125H02)
- 外部muxを駆動するためのGPIO (ADS125H02)
- 信号およびリファレンス電圧モニタ
- 巡回冗長検査(CRC)
- 電源:
- AVDD : 4.75V~5.25V
- DVDD : 2.7V~5.25V
- HVDD: ±5V~±18V
- 動作温度: –40°C~+125°C
- 5mm × 5mm VQFNパッケージ
アプリケーション
- PLCアナログ入力モジュール
- 電圧(±10Vまたは0V~5V)
- 電流(シャントで4mA~20mA)
- 温度(RTD、熱電体)
- 試験および測定:
- 高コモンモード電圧入力
- バッテリ試験
- ハイサイド電流測定
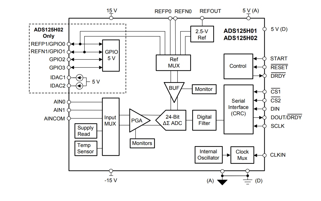
ブロック図
公開: 2019-05-15
| 更新済み: 2023-09-11
