Texas Instruments ADS131A0xアナログフロントエンドIC
Texas Instruments ADS131A0xアナログフロントエンドICは、2または4チャンネル、同期サンプリング、24ビットのデルタシグマ(ΔΣ)型アナログデジタルコンバータ(ADC)です。 この広いダイナミックレンジ、拡張可能なデータレート、内部故障モニタによって、これらのデバイスは、エネルギーモニタリング、保護、制御アプリケーションに最適です。 ADC入力は、電圧または電流の測定、あるいはRogowskiコイルを測定するために、個別にトランスフォーマーのレジスタドライバネットワークと直接インターフェース接続できます。 内蔵ネガティブ充電ポンプを含めて柔軟性に富んだ電源オプションを利用可能で、高ダイナミックレンジアプリケーション向けに有効ビット数(ENOB)を最大化できます。 これらのデバイスは、最大128kSPSのデータレートに対応しています。 この完全アナログフロントエンド(AFE)ソリューションは32ピンTQFPパッケージに梱包されており、–40°C~+125°Cの工業温度範囲に指定されています。特徴
- 2 or 4 simultaneously-sampling differential inputs
- Data rates up to 128kSPS
- Noise performance
- Single-channel accuracy better than 0.1% at 10,000:1 dynamic range
- ENOB (19.1 bits at 8kSPS)
- THD (–100dB at 50Hz and 60Hz)
- An integrated negative charge pump
- Flexible analog power-supply operation
- 3.0V to 3.45V using a negative charge pump
- 3.3V to 5.5V unipolar aupply
- ±2.5V bipolar supply
- 1.65V to 3.6V digital supply
- 4ppm/°C low-drift internal voltage reference
- ADC self-checks
- Cyclic Redundancy Check (CRC) and hamming code error correction on communications
- Multiple SPI™ data interface modes
- Asynchronous interrupt
- Synchronous master and slave
- 32-pin TQFP package
- Operating temperature range
- –40°C to +125°C
アプリケーション
- Industrial power applications
- Single-phase and polyphase energy monitoring
- Protection relays, circuit breakers
- Power quality meters
- Data acquisition systems
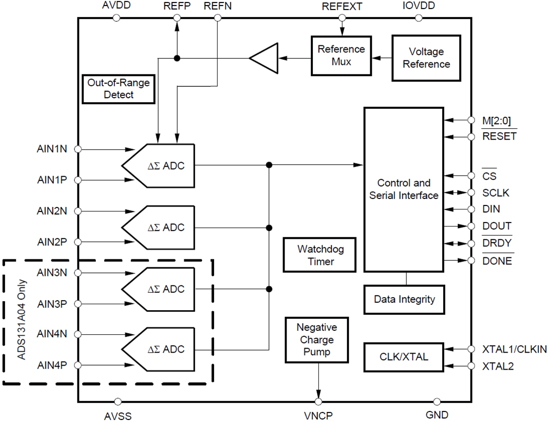
Functional Block Diagram
公開: 2016-05-24
| 更新済み: 2022-03-11
