Texas Instruments ADS8578S高速8チャンネルADC
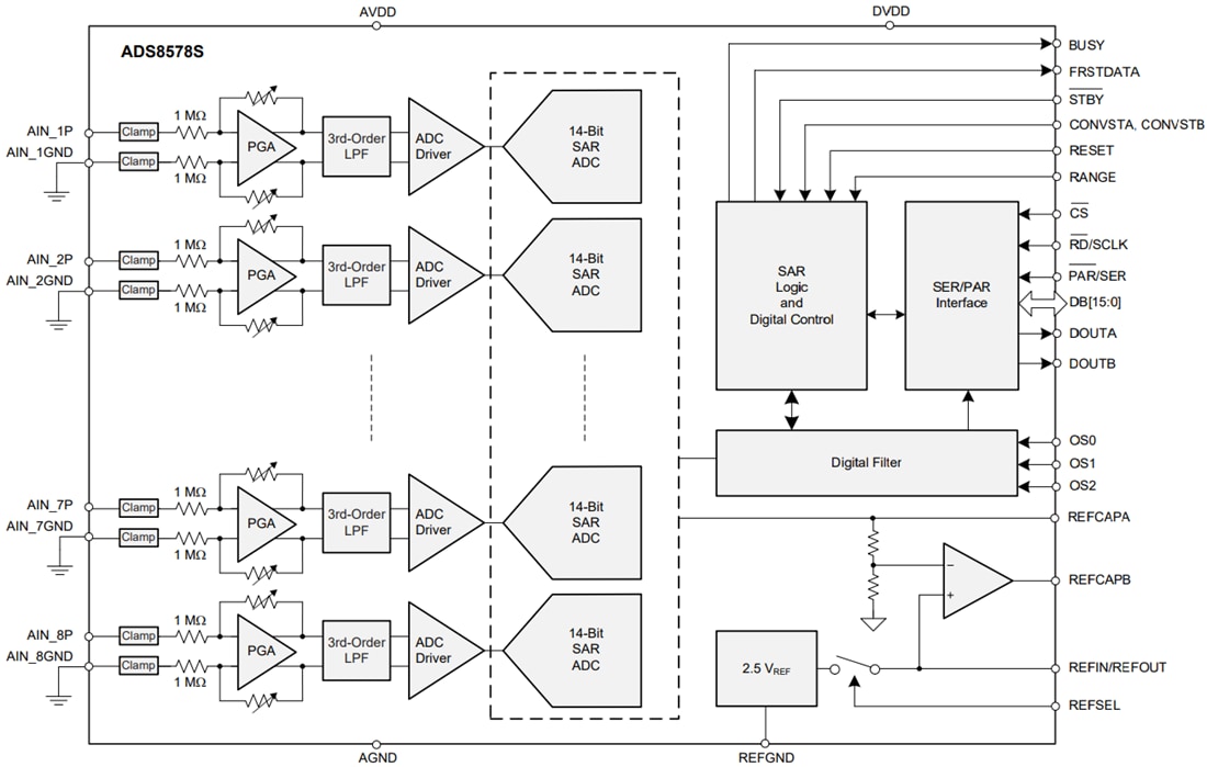
Texas Instruments ADS8578S高速8チャンネルADCには、14ビット逐次型(SAR)アナログ・デジタル・コンバータ(ADC)に基づいたデータ収集システム(DAQ)が統合されています。すべての入力チャンネルは同時にサンプリングされ、チャネルあたり200kSPSの最大スループットを達成できます。また、各チャンネルの完全アナログフロントエンドが特徴です。各フロントエンドには、1MΩの高入力インピーダンス、入力クランプ、低パスフィルタ、ADC入力ドライバが備わったプログラマブル・ゲインアンプ(PGA)が搭載されています。また、ADS8578Sは、ADCを駆動するバッファが備わった低ドリフトの高精度リファレンスも特徴です。シリアル、パラレル、パラレルバイト通信をサポートする柔軟性に富んだデジタルインターフェイスによって、さまざまなホストコントローラとの併用が可能です。また、高性能と高精度、ならびにADS8578Sによって提供されるゼロ遅延変換のおかげでADS8578Sは、数多くの工業オートメーションや制御アプリケーションに優れた選択です。特徴
- 14-Bit ADC with integrated analog front-end
- Simultaneous sampling of 8 channels
- Pin-programmable bipolar inputs of ±10V and ±5V
- High input impedance of 1MΩ
- 5V Analog supply of 2.3V to 5V digital supply
- Overvoltage input clamp with 7kV ESD
- Low-drift, on-chip reference (2.5V), and buffer
- Excellent performance
- 200kSPS Max throughput per channels
- DNL: ±0.2LSB; INL: ±0.2LSB
- SNR: 85.8dB; THD: −109dB
- Overtemperature prformance
- Max offset drift of 3ppm/°C
- Gain drift of 6ppm/°C
- On-chip digital filter for oversampling
- Flexible parallel, byte, and serial interface
- Temperature Range of –40°C to +125°C
- 64-Pin LQFP Package
アプリケーション
- Monitoring and control for power grids
- Protection relays
- Multiphase motor controls
- Industrial automation and controls
- Multichannel data acquisition systems
ビデオ
Functional Block Diagram
公開: 2017-09-08
| 更新済み: 2022-06-01
