Texas Instruments AFE4432統合型アナログフロントエンド(AFE)
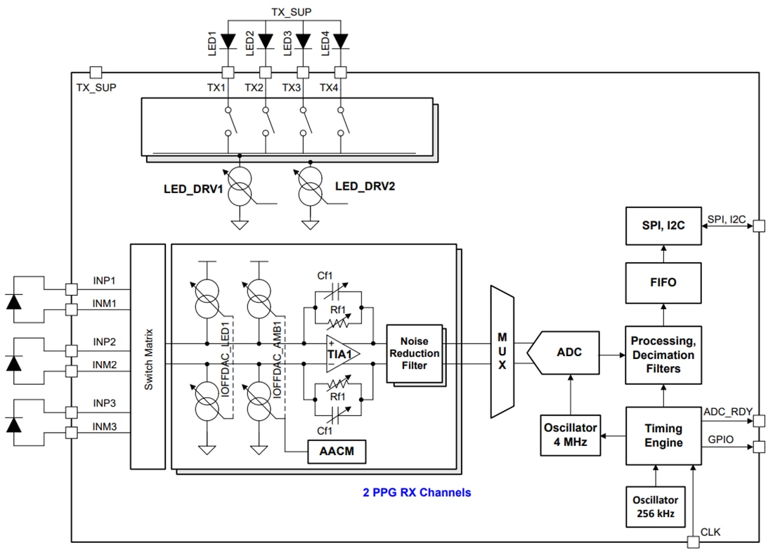
Texas Instruments AFE4432一体型アナログフロントエンド(AFE)は、マウザーでご購入いただけます。この製品は、心拍数モニタリング(HRM)および末梢毛細血管酸素(SpO2)飽和といった光学バイオセンシング・アプリケーション用です。このデバイスは最大4つのスイッチング発光ダイオード(LED)および最大2つののフォトダイオード(PD)に対応しています。AFEにはLEDが2個あり、それぞれで8ビットの電流制御が可能です。Texas Instruments AFE4432には、高ダイナミックレンジの送受信回路があり、非常に小さい信号レベルの検出に役立ちます。最大12の信号の位相セットを定義することができ、それそれの位相セットはLEDの位相と周囲の位相を組み合わせて構成します。レシーバ入力での低ノイズオフセットDAC、周囲光およびLED高からDCをキャンセルするように自動制御されます。各位相でのPDからの電流は、TIAによって電圧に変換され、選別され、スタンダードのADCを使用してデジタル化されます。ADCコードは、160サンプルFIFOブロックに保存できます。FIFOは、SPIまたはI2Cインターフェースを介して読み出すことができます。特徴
- 最大12相セットの信号取得をサポート
- LED最大4個、PD 3個をサポート
- 各位相でのLEDおよびPDの柔軟な割り当て
- さまざまなデータレートでのさまざまなセンサからの同時信号取得
- 正確な連続PPGモニタリング
- ウェアラブルデバイスでの連続心拍数モニタリングのための標準値の小電流(受信機の場合12µA)
- 0.5-10Hz帯域で115dBのピークシステムSNRにより、高精度SpO2計測が可能
- トランスミッタ
- 25mA〜250mAの範囲で調整できる8ビット対応プログラマブルLED電流
- 位相ごとに独立した電流制御を用いて並列に2つのLEDを点灯させるモード
- 1位相毎のプログラマブルLEDオンタイム
- SpO2、多波長HRM用のLED 4個を同時サポート
- レシーバー
- 3つの時間多重化PD入力をサポート
- 2台のパラレル受信機(TIA/フィルタの2セット)
- 1位相毎8ビット制御および255μAまで調整できる範囲がある各TIA入力での個別の周囲オフセット減算DAC
- 1位相毎9ビット制御および64μA範囲がある各TIA入力での個別のLEDオフセット減算DAC
- ADC出力でのデジタルアンビエントサブトラクション
- プログラマブル帯域幅があるノイズフィルタリング
- トランスインピーダンス・ゲイン:3.7kΩ~1MΩ
- 外部クロックまたは内部発振器をサポート
- システムクロックと同期したデータを取得するオプション
- 周囲、LEDからのDCの自動キャンセレーション
- 160サンプル深度があるFIFO
- SPI™インターフェイス/ I2Cインターフェイス
- 1.9mm × 1.8mm DSBGA、0.35mmピッチ
- 電源
- Rx:1.7V~1.9V
- Tx: 3V~5.5V
アプリケーション
- ウェアラブル、ヒアラブル製品のための光学心拍監視(HRM)
- 心拍変動(HRV)
- パルスオキシメトリ(SpO2)測定
ブロック図
公開: 2022-10-04
| 更新済み: 2022-11-02
