Texas Instruments AFE5828 16チャンネル超音波アナログフロントエンド
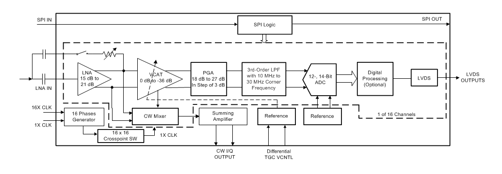
Texas Instruments AFE5828 16チャンネル超音波アナログ・フロントエンドは、高性能、低消費電力、小型サイズが必須の超音波システムを対象とした高度統合ソリューションです。AFE5828には、1つは電圧制御アンプ(VCA)ダイ、もう1つはアナログ・デジタル・コンバータ(ADC)ダイの、2つのダイが搭載されているマルチチップ・モジュール(MCM)があります。VCAダイには、ADCダイの16のチャンネルとインターフェイス接続する、16のチャンネルがあります。2つのモードは、VCAダイ、時間利得補償(TGC)モードまたは連続波(CW)モードにおける各チャンネルから設定できます。TGAモードは、低ノイズ・アンプ(LNA)、電圧制御アッテネータ(VCAT)、プログラマブル・ゲイン・アンプ(PGA)、3次ローパスフィルタ(LPF)が搭載された各チャンネルを実現しています。CWモードにおいて、LNAの出力は、16の選択可能な位相遅延が備わった低消費電力受動ミキサに対して行われ、帯域通過フィルタが搭載された加算アンプへと続きます。ADC解像度は、変換レートでのやり取りが可能です。また、65MSPS(14ビット解像度)および80MSPS(12ビット解像度)の最大速度で動作します。このADCは、サンプリングレートで電力をスケールするように設計されています。また、このADCの出力インターフェイスは、低コストのフィールドプログラマブル・ゲート・アレイ(FPGA)とのインターフェイス接続が簡単にできる低電圧差動シグナリング(LVDS)を介して出力されます。このデバイスは、AFE5818およびAFE5816ファミリとの互換性があります。
特徴
- 速度最大1GbpsのLVDSインターフェイス
- 小型パッケージ: 15mm × 15mm NFBGA-289
- 超音波アプリケーション用16チャネルAFE:
- TGCおよびCWモード用に最適化されたシグナルチェーン
- 4つのプログラマブルTGCプロファイル
- 低ノイズ・アンプ(LNA):
- プログラマブル・ゲイン: 21dB、18dB、15dB
- 線形入力信号振幅: 0.37VPP、0.5VPP、0.71VPP
- アクティブ終端
- 電圧制御アッテネータ(VCAT):
- 減衰範囲: 0dB~36dB
- プログラマブルゲインアンプ(PGA):
- 3dBのステップで18dB–27dB
- 3次、リニア位相、ローパスフィルタ(LPF):
- カットオフ周波数10MHz~30MHz
- ADCモード(アイドルチャンネルSNR):
- 14ビット、65MSPSモード: 75dBFS
- 12ビット、80MSPSモード: 72dBFS
- ノイズおよび電力用に最適化済:
- TGCモード: 102mW/Ch @ 0.8nV/√Hz、65MSPS、14ビット出力
- CWモード: 63mW/ch
- 優れたデバイス対デバイスのゲイン整合:
- ±0.4dB(標準)
- 迅速かつ一貫した過負荷回復
- 連続波(CW)パス:
- 1kHz周波数オフセットで–159dBc/Hzの低クローズイン位相ノイズは、2.5MHzキャリアのオフセットを実施
- 位相分解能: λ/16
- 16xおよび8x CWクロックをサポート
- 第3高調波と第5高調波の12dB抑圧
アプリケーション
- 医療用超音波画像処理
- 非破壊評価装置
- ソナー画像診断装置
ブロック図
公開: 2018-07-13
| 更新済み: 2022-11-10
