Texas Instruments AFEx32A3W電流源スマート・アナログ・フロントエンド
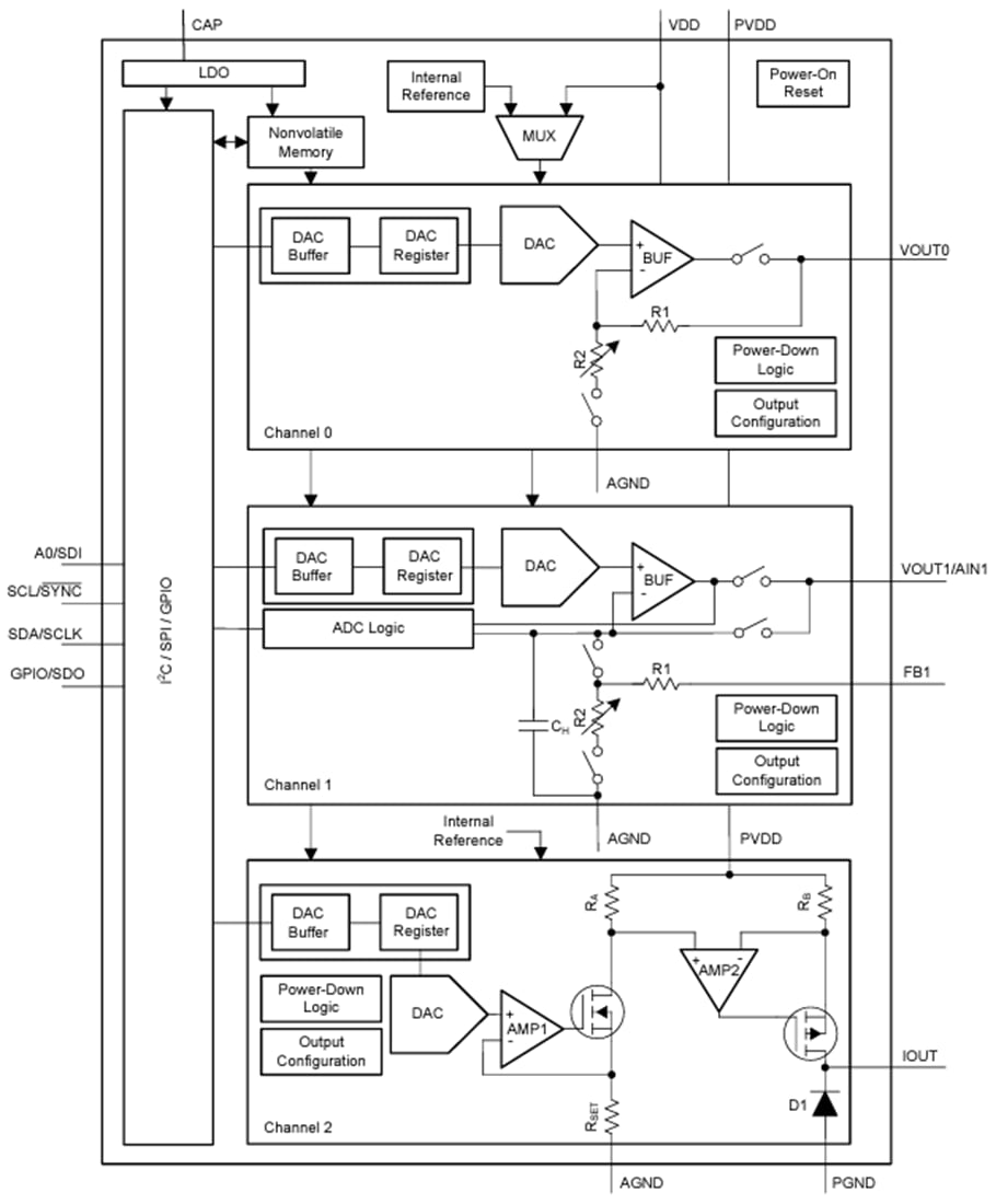
Texas Instruments AFEx32A3電流源スマート・アナログ・フロントエンド(AFE)は、3チャネルのバッファ付き電圧出力、電流出力、およびADC入力スマートAFEです。AFEx32A3Wデバイスは、レーザーダイオードや小型モーターのリニア制御に使用できる電流源をサポートしています。これらのデバイスは、電圧出力用にHi-Zパワーダウン・モードと、電圧出力のパワーオフ状態時のHi-Z出力をサポートします。チャンネル1はADC、電圧出力DAC、またはコンパレータとして構成可能です。電圧出力DACは、プログラマブルコンパレータおよび電流シンクとして使用するフォースセンス・オプションを実現します。このスマートAFEは、多機能GPIO、機能生成、プログラム可能不揮発性メモリ(NVM)によって、プロセッサレス・アプリケーションや設計の再利用を実現できます。これらのデバイスは、SPIまたはI2Cインターフェイスを自動的に検出し、また内部リファレンスが搭載されています。これらのスマートAFEは、Texas Instruments AFEx32A3Wの機能セットと超小型パッケージおよび低消費電力という特長を備えており、受動光ネットワーク (PON) や他の産業用レーザーにおけるレーザーダイオードの電力制御や電界吸収変調レーザー (EML) 制御などのアプリケーションに最適です。
特徴
- 電流ソースDAC
- 1LSBのDNL
- 2つの範囲:300mA、220mA
- 770mVのヘッドルーム
- デュアル電圧出力DAC
- 1LSBのDNL
- 1×、1.5×、2×、3×、4×のゲイン
- チャネル1のADC入力
- チャネル1のプログラマブルなコンパレータモード
- VDD オフ時に高インピーダンス出力
- 高インピーダンスおよび抵抗プルダウン・パワーダウン・モード
- 50MHz SPI互換インターフェイス
- I2CまたはSPIを自動検出、VIH: 1.62V(VDD =5.5Vの場合)
- 複数の機能に構成できる汎用入出力(GPIO)
- 予め定義された波形生成(正弦、余弦、三角、のこぎり)
- ユーザープログラマブル不揮発性メモリ(NVM)
- 基準電圧として内部または電源を使用可能
- 広い動作範囲
- 電源:3V~5.5V
- 温度:-40˚C~+125˚C
アプリケーション
- 光学モジュール
- レーザー
機能ブロック図
公開: 2024-03-13
| 更新済み: 2024-03-21
