AFEx3902-Q1には、温度入力用のADCおよび出力としてのDACまたはPWMジェネレータがあります。これらのデバイスには、マルチスロープ・サーマルフォールドバック・コントローラとしてプログラミングされた統合ステートマシンがあります。AFEx3902-Q1は、車載用リアライト、ヘッドライト、園芸用照明のサーマルフォールドバックに優れた選択です。Texas Instruments AFEx3902-Q1NVMにプログラムされたパラメータとは独立して動作するため、プロセッサレスアプリケーションおよび設計の再利用向けにこれらのスマートAFEが有効になります。また、これらのデバイスは、I2CまたはSPIを自動的に検出し、内部リファレンスを備えています。
特徴
- AEC-Q100自動車用途向けに認定されています
- 温度グレード1(-40°C〜+125°C、TA)
- マルチスロープ熱フォールドバック
- 10ビットのアナログ-デジタルコンバータ(ADC)入力
- デジタル・アナログ・コンバータ(DAC)出力
- 10ビット(AFE53902-Q1)
- 8ビット(AFE43902-Q1)
- 負荷サイクル7ビットのパルス幅変調(PWM)出力
- 不揮発性メモリ(NVM)からのスタンドアロン動作
- ルックアップテーブル(LUT)ベースのパラメータ構成
- サーミスタ用区分的リニアライザ
- I2CまたはSPIを自動的に検出
- VIH :1.62V(VDD = 5.5V時)
- VREF/MODEピンはプログラミングモードとスタンドアロンモードを選択します。
- ユーザーによるプログラマブルNVM
- 内部、外部、またはVDD のリファレンス電圧
- 広い動作範囲
- 電源: 1.8V~5.5V
- 16ピンWQFN(3mm × 3mm)小型パッケージ
アプリケーション
- 自動車用リアライト
- 自動車用ヘッドライト
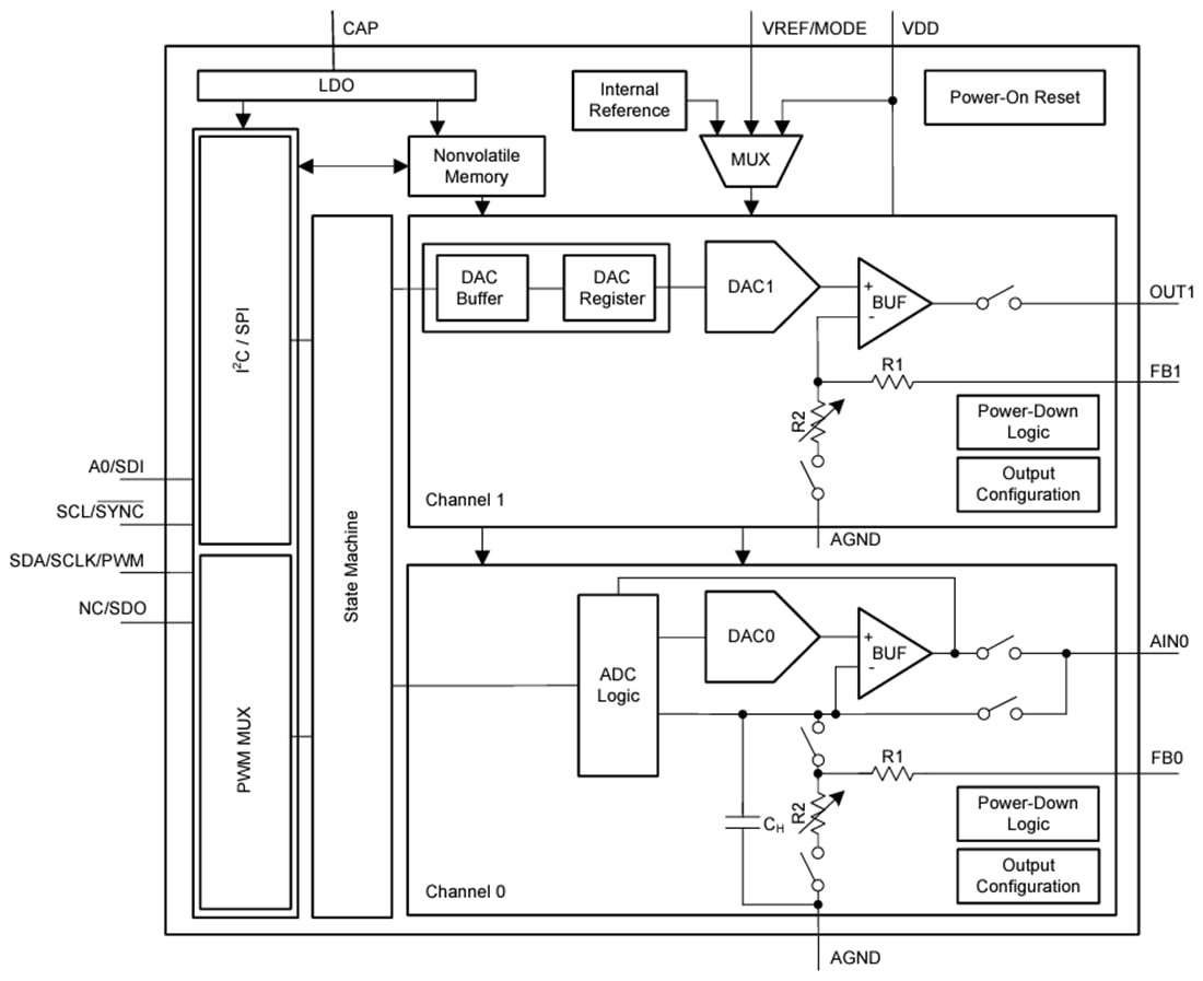
機能ブロック図
公開: 2023-10-16
| 更新済み: 2025-03-11

