Texas Instruments AFEx39xx/AFEx39xx-Q1 スマートアナログフロントエンド
Texas Instruments AFEx39xx/AFEx39xx-Q1 スマートアナログフロントエンド(AFE)は、電圧またはPWM出力を使用した熱電冷却(TEC)制御用に設計されています。AFE639D2はI2Cコントローラ・インターフェイスをサポートしており、外部のデジタル温度センサと接続できます。AFE639D2とAFE539A4電圧出力をサポートし、AFE439A2PWM出力をサポートします。AFEx39xx/AFEx39xx-Q1は、障害管理を目的としたコンパレータチャンネルをサポートしています。これらのデバイスは、電源オフ状態時にHi-ZパワーダウンモードとDACチャンネルでHi-Z出力をサポートします。これらのデバイスには、比例-積分(PI)コントローラとしてプログラミングされた統合ステートマシンがあります。AFEx39xx/AFEx39xx-Q1は、TEC制御、温度制御、ダイナミック・ヘッドルーム制御アプリケーションにとって優れた選択です。Texas Instruments AFEx39xx/AFEx39xx-Q1には、高度な機能、内部リファレンス、NVMが統合されており、プロセッサレス・アプリケーションと設計の再利用を目的としたこのスマートAFEを実現できます。特徴
- 統合比例-積分(PI)制御
- 不揮発性メモリ(NVM)からのスタンドアロン動作
- プログラム可能な比例ゲインと積分ゲイン
- 出力クランプ用コンパレータ入力
- 出力の最小値、最大値、およびコモンモード値をプログラム可能
- プログラム可能なループ位相反転
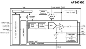
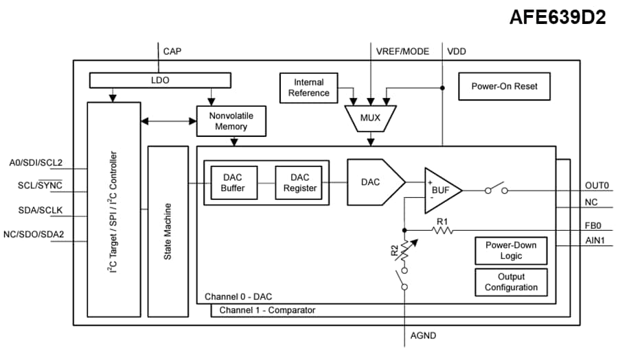
- AFE639D2
- 外部デジタル温度センサ・インターフェイス用I2Cコントローラ
- 12ビットDAC出力:4LSBDNL、1LSBDNL
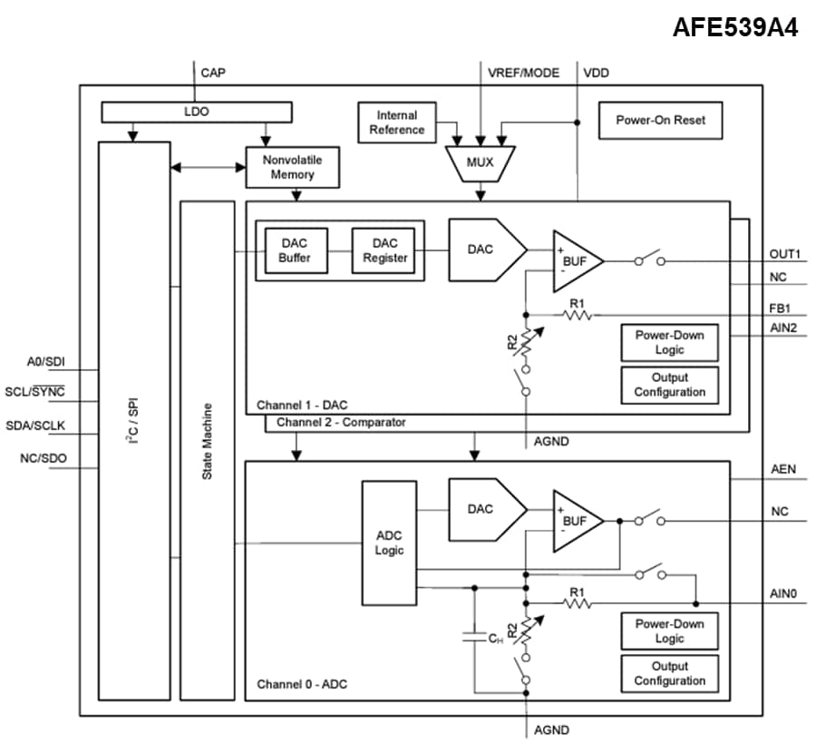
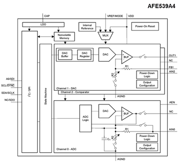
- AFE539A4
- 10ビットADC入力:2LSBINL、1LSBDNL
- 10ビットDAC出力:1LSBINLおよびDNL
- AFE439A2
- 8ビットADC入力:1LSBINLおよびDNL
- 7ビットデューティサイクルPWM出力
- 障害管理用プログラム可能コンパレータ
- VDD オフ時にDACチャネルの出力をハイ・インピーダンス化
- I2CまたはSPIインターフェイスを自動検出
- VIH :1.62V (VDD = 5.5Vの場合)
- VREF/MODEピンはプログラミングモードとスタンドアロンモードを選択します。
- ユーザーによるプラグラムが可能なNVM
- リファレンスとして内部、外部、または電源
- 広い動作範囲
- 電源: 1.8V~5.5V
- 温度範囲:-40℃~+125℃
- 16ピンWQFN(3mm × 3mm)小型パッケージ
アプリケーション
- レーザー
- 化学およびガス解析器
- 機械的スキャンLIDAR
- ロボットセンシングモジュール
- 移動ロボットセンシングモジュール
- シーカー・フロント・エンド
公開: 2023-10-16
| 更新済み: 2024-01-12
