Texas Instruments AFEx8101 16および14ビット低消費電力DAC
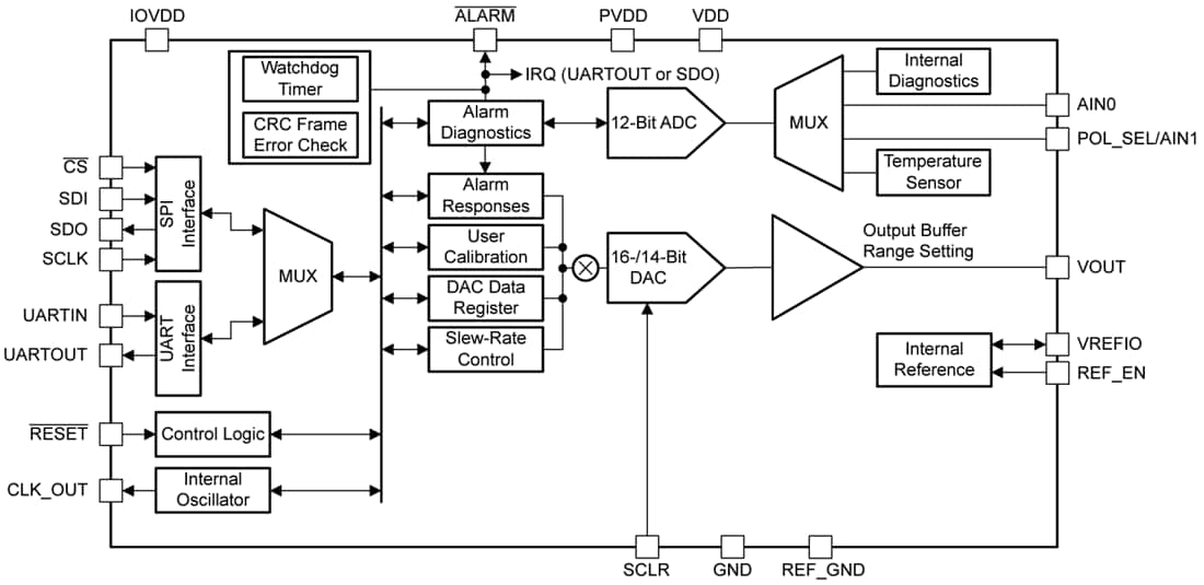
Texas Instruments AFEx8101 16および14ビット低消費電力デジタルアナログコンバータ(DAC)は、高度に統合された高精度の超低消費電力DACです。これらのには、センサトランスミッタアプリケーション用に設計された電圧出力が備わっています。AFEx8101デバイスには、4mA~20mA、2線式 (ループ電源) センサ・トランスミッタの作成に必要なほとんどの部品が含まれています。高精度のDACに加えて、これらのデバイスには10ppm/°Cの電圧リファレンスと診断用のアナログ・デジタルコンバータ (ADC) が含まれています。本質的な安全性および機能的な安全性の問題に対応するには、外部の電圧から電流への変換と電力調整が必要です。この内部診断ADCは、複数の内部ノードに多重化されており、自動セルフヘルスチェックが可能です。このチェックは、内部バイアス源、電源レギュレータ、電圧リファレンス、DAC出力、ダイ温度、オプションの外部電圧源のエラーまたは誤動作を検出できます。診断用ADC、CRCフレームエラーチェック、またはウィンドウモード対応ウォッチドッグタイマから障害が検出されたと仮定します。その場合、デバイスは、オプションで割り込みを発行して、標準のNAMUR出力値、ユーザーが指定したカスタム値、またはその両方に対応するフェイルセーフ状態を入力できます。Texas Instruments AFEx8101は、最低1.71Vまでの供給で動作し、210µAの最大自己消費電流が備わっています。このデバイスは、–40°C~+125°Cの温度範囲に指定されていますが、–55°C~+125°Cで機能します。
特徴
- 内部1.2288MHz発振器(クロック出力搭載)
- デジタルインターフェイス
- シリアルペリフェラルインターフェイス(SPI)
- ユニバーサル非同期レシーバ-トランスミッタ(UART)
- 故障検出
- CRCビットエラーチェック
- ウィンドウ・ウォッチドッグ・タイマー
- 診断ADC
- –55°C~+125°Cの広い動作温度
アプリケーション
- 2線式トランスミッタ
- 4mA~20mAのループ駆動アプリケーション
- プロセス制御および産業オートメーション
- スマートトランスミッタ
- PLCまたはDCS I/Oモジュール
機能ブロック図
公開: 2023-02-08
| 更新済み: 2025-06-06
