Texas Instruments AM1705 Sitara ARMマイクロプロセッサ(MPU)
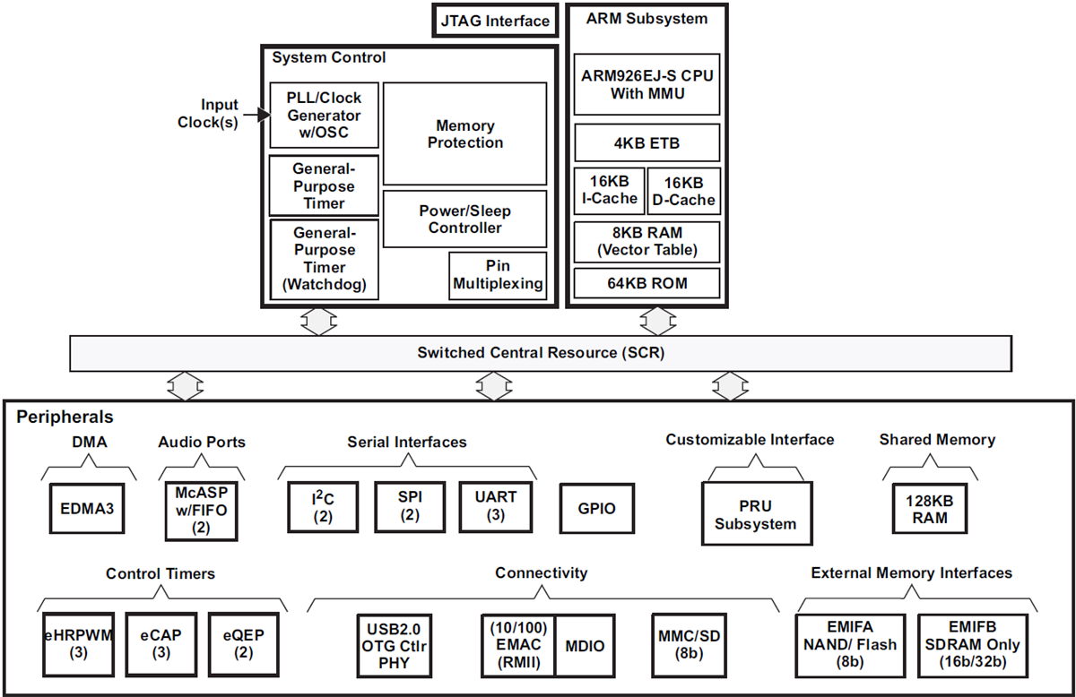
Texas Instruments AM1705 Sitara ARM Microprocessor (MPU)は、ARM 32ビットRISC ARM926EJ-Sプロセッサコアに基づいた低消費電力のマイクロプロセッサ(MPU)です。このデバイスによって、OEMやODM(委託設計・生産企業)は、堅牢なオペレーティングシステムでサポートされた、豊富なユーザーインターフェースを備えた、高い処理性能を備えた機器を迅速に市場に投入できるようになります。完全に統合された混合プロセッサソリューションの柔軟性を最大に活用できます。ARM926EJ-Sは、32ビットまたは16ビット命令で動作し、32ビット、16ビット、または8ビットデータを処理する、32ビットRISCプロセッサコアです。プロセッサとメモリシステムのあらゆる部分が連続的に動作できるように、コアにはパイプラインが使用されています。ARMコアには、コプロセッサ15(CP15)、保護モジュール、テーブル索引バッファを備えたデータとプログラムメモリ管理ユニット(MMU)があります。ARMコアにはこのほか16KBの命令キャッシュと16KBのデータキャッシュがあります。両方のメモリブロックは、仮想インデックスタグ(VIVT)で4方向に結合できます。ARMコアには、8KBのRAM(ベクタテーブル)および64KBのROMもあります。The ARM926EJ-S is a 32-bit RISC processor core that performs 32-bit or 16-bit instructions and processes 32-bit, 16-bit, or 8-bit data. The core uses pipelining so that all parts of the processor and memory system can operate continuously. The ARM core has a coprocessor 15 (CP15), protection module, and data and program memory management units (MMUs) with table look-aside buffers. The ARM core has separate 16KB of instruction and 16KB data caches. Both memory blocks are four-way associative with virtual index virtual tag (VIVT). The ARM core also has 8KB of RAM (Vector Table) and 64KB of ROM.
特徴
- 375および456MHz ARM926EJ-S™ RISC Core32ビットおよび16ビット(Thumb®)命令
- ARM9メモリアーキテクチャ16KBの命令キャッシュ
- 拡張ダイレクトメモリアクセスコントローラ3(EDMA3)
- 128KBのRAMメモリ
- 3.3V LVCMOS I/O(USBインターフェイスを除く)
- 外部メモリインターフェイス2台
- 3つの構成可能16550タイプのUARTモジュール
- 1つのチップ選択が備わった2つのシリアル・ペリフェラル・インターフェイス(SPI)
- プログラマブルリアルタイムユニットサブシステム(PRUSS)
- セキュアデータI/O(SDIO)搭載マルチメディアカード(MMC)/セキュアデジタル(SD)カード・インターフェイス
- 2個のマスタおよびスレーブ集積回路間(I2Cバス™)
- 統合PHYが備わったUSB 2.0 OTGポート1個(USB0)
- 2個のマルチチャンネルオーディオシリアルポート(McASP)
- 10/100 MbpsイーサネットMAC(EMAC)
- 64ビットの汎用タイマ(2つの32ビットタイマとして構成可能)1個
- 64ビットのウォッチドッグタイマ(2つの32ビットタイマとして構成可能)1個
- 強化パルス幅変調器(eHRPWM)3台
- 3個の32ビット拡張キャプチャ(eCAP)モジュール
- 2個の32ビット拡張直交エンコーダパルス(eQEP)モジュール
- 176ピンPowerPAD™プラスチッククワッドフラットパック[PTP suffix]、0.5mmピンピッチ
- 商業、産業、または拡張温度
アプリケーション
- 産業用オートメーション
- ホームオートメーション
- テストおよび測定機器
- ポータブルデータ端末
Additional Resources
機能ブロック図
公開: 2016-02-03
| 更新済み: 2025-06-23
