Texas Instruments AMC0x06M05/-Q1絶縁型デルタシグマ変調器
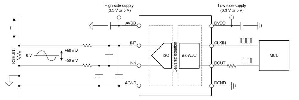
テキサス・インスツルメンツ (Texas Instruments) AMC0x06M05/-Q1 絶縁型デルタシグマ変調器は、±50mVの差動入力とデジタル出力を備えた、高精度な電気的絶縁デバイスです。この変調器の入力は、電流センシング回路で一般的に使用される低インピーダンスのシャント抵抗への接続に最適化されています。絶縁バリアは、異なるコモンモード電圧レベルで動作するシステムの各部を分離します。絶縁バリアは、磁気干渉に対する高い耐性があります。このバリアは、最大5kVRMS(DWVパッケージ)の強化絶縁と、最大3kVRMS(Dパッケージ)(60s)の基本絶縁を実現することが認定されています。AMC0x06M05/-Q1の出力ビットストリームは、外部クロックに同期します。TI AMC0x06M05/-Q1 絶縁型デルタシグマ変調器は、sinc3フィルタとOSR 256フィルタを組み合わせており、78kSPSのサンプルレートにおいて16ビットの有効分解能、または84dBのダイナミックレンジを実現します。AMC0x06M05-Q1は、8ピンのワイドボディおよびナローボディSOICパッケージで提供されます。本デバイスは、-40°C〜+125°Cの温度範囲で完全に仕様規定されています。
AMC0x06M05-Q1は、自動車アプリケーション用にAEC-Q100認定済みです。
特徴
- 自動車アプリケーション用にAEC-Q100認定済み:
- 温度グレード1:-40°C〜+125°C、TA
- 線形入力電圧範囲:±50mV
- 電源電圧範囲:
- ハイサイド(AVDD):3.0V〜5.5V
- ローサイド(DVDD): 2.7V~5.5V
- DC誤差が小さい:
- オフセット誤差:±200uV(最大値)
- オフセットドリフト:±12uV/°C(最大値)
- ゲイン誤差:±0.3%(最大値)
- ゲインドリフト:±50ppm/°C(最大値)
- 高CMTI:150V/ns(最小値)
- ハイサイド電源欠落検出機能
- 低EMI: CISPR-11およびCISPR-25規格に適合
- 絶縁定格:
- AMC0206M05-Q1:基本絶縁
- AMC0306M05-Q1:強化絶縁
- 安全関連認定:
- DIN EN IEC 60747-17 (VDE 0884-17)
- UL1577
アプリケーション
- モータドライブ
- 光起電インバータ
- サーバー電源装置(PSU)
- エネルギーストレージシステム
データシート
代表的なアプリケーション
公開: 2026-02-05
| 更新済み: 2026-02-13
