Texas Instruments AWR1243 76GHz~81GHz mmWave車載用MMIC
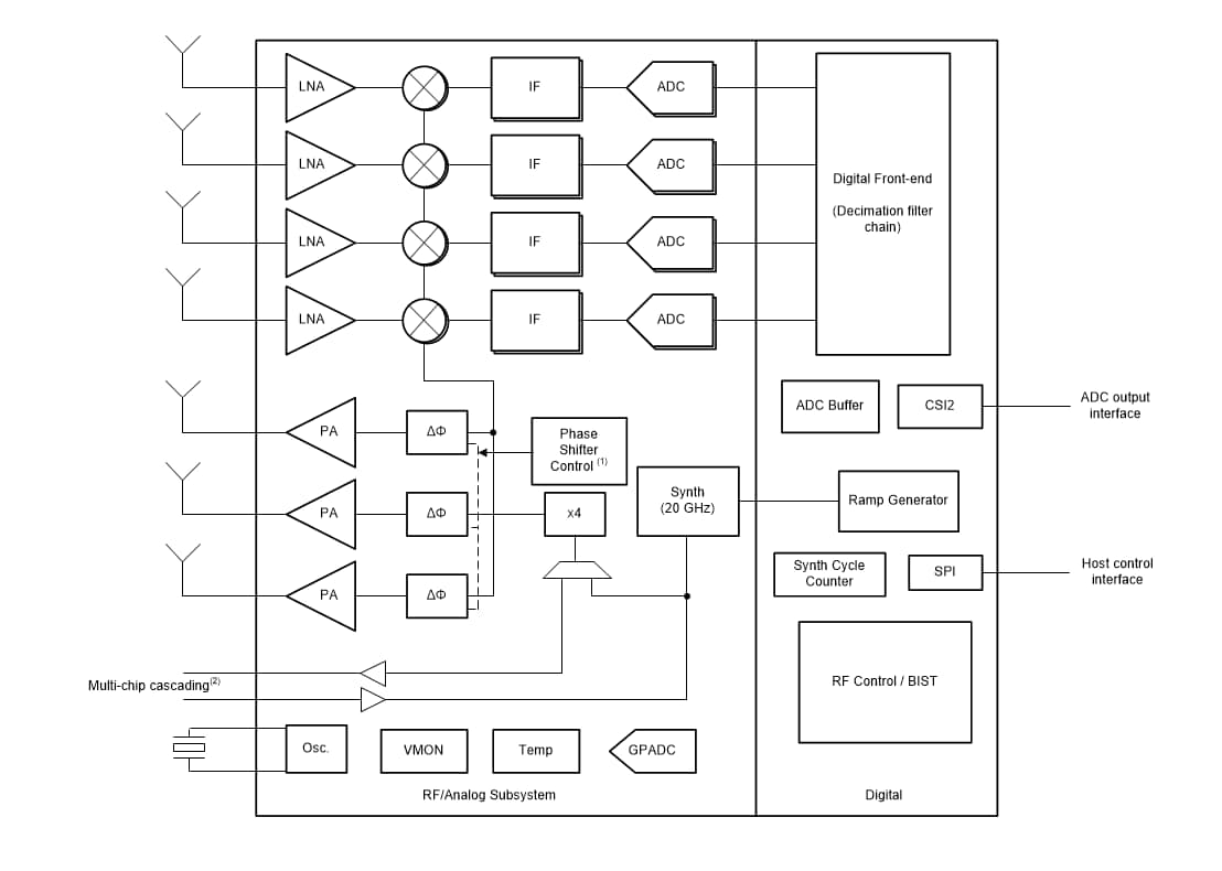
Texas Instruments AWR1243 76GHz~81GHz mmWave車載用MMICは、統合シングルチップFMCWトランシーバで、極めて小型のフォームファクタになっています。AWR1243 MMICは、車載用スペースに収まる低消費電力、自己モニタリング、超精密レーダ・システムに最適なソリューションです。このデバイスは、TIの低消費電力45nm RFCMOSプロセスで構築されており、内蔵PLLおよびA2Dコンバータを使用した3TX、4RXシステムのモノリシック実装が可能になります。簡単なプログラミング・モデル変更によって、マルチモードセンサの実装(短、中、長)を目的とした動的再設定の可能性があるさまざまなセンサを実装できます。AWR1243は、リファレンス設計、ソフトウェア・ドライバ、サンプル構成、APIガイド、ユーザー・ドキュメンテーションを始めとする完全プラットフォーム・ソリューションとして提供されています。特徴
- FMCWトランシーバ
- 統合PLL、トランスミッタ、レシーバ、ベースバンド、A2D
- 4GHzで使用可能な帯域幅での76GHz~81GHzのカバレッジ
- 4つの受信チャンネル
- 3つの送信チャンネル(AWR1243で2チャンネル同時、AWR1243Pで3チャンネル同時)
- フラクショナルN PLLに基づいた超精密チップ・エンジン
- TX電力: 12dBm
- RXノイズ指数:
- 14dB (76~77GHz)
- 15dB (77~81GHz)
- 1MHzでの位相ノイズ:
- –95dBc/Hz (76~77GHz)
- –93dBc/Hz (77~81GHz)
- 内蔵キャリブレーションとセルフテスト機能
- 内蔵ファームウェア(ROM)
- 周波数と温度全体での自動調整システム
- ホストインターフェイス
- SPIを介した外部プロセッサを用いた制御インターフェイス
- MIPI D-PHYおよびCSI2 V1.1からの外部プロセッサが活用されたデータ・インターフェイス
- 障害報告用の割り込み
- AWR1243の高度機能
- ホストプロセッサの介在が不要な組み込みセルフモニタリング
- 複雑なベースバンドアーキテクチャ
- チャネル数を増加させるための複数デバイスのカスケード接続のオプション
- 組み込み干渉検出機能
- 電源管理
- 強化PSRR向け内蔵LDOネットワーク
- デュアル電圧3.3V/1.8VをI/Oがサポート
- クロックソース
- 40MHzでの外部駆動クロック(正方形/正弦)をサポート
- 40MHzクリスタルと負荷コンデンサとの接続に対応
- 簡単なハードウェア設計
- 簡単な組立と低コストPCB設計を目的とした0.65mmピッチ、161ピン10.4mm × 10.4mmフリップチップBGAパッケージ
- 小型ソリューションサイズ
- 車載用温度動作範囲をサポート
- ターゲットのASIL B
- AEC-Q100認定
アプリケーション
- 自動高速道路運転
- 自動緊急ブレーキ
ブロック図
公開: 2018-12-17
| 更新済み: 2023-07-24
