Texas Instruments AWRL1432 ミリ波レーダーセンサ
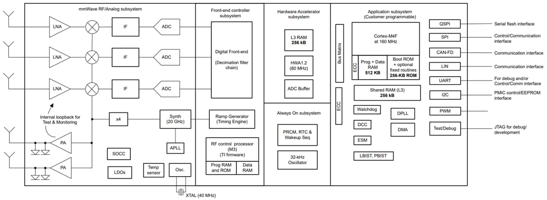
Texas Instruments AWRL1432 ミリ波レーダーセンサは、FMCWレーダーテクノロジーをベースとする統合型シングルチップ ミリ波センサです。このデバイスは、76GHz~81GHz帯で動作可能で、RF/アナログサブシステム、フロントエンドコントローラサブシステム(FECSS)、アプリケーションサブシステム(APPSS)、ハードウェアアクセラレータ(HWA)の4つのパワードメインに分割されています。AWRL1432は、ユースケースの要件に基づいてデバイスの状態(電源のオンまたはオフ)を制御するために、各電源ドメインごとに独立したコントロールを備えています。デバイスはディープスリープやスリープなどの様々な低消費電力状態を実行することができ、低消費電力スリープモードはクロックゲーティング、およびデバイスの内部IPブロックをオフにすることによって実現されます。このようなシナリオでは、デバイスはアプリケーションイメージやRFプロファイルなど、その内容の一部を保持します。さらに、このデバイスは、TIの低消費電力45nm RF CMOSプロセスで製造されており、超小型のフォームファクタで、かつてないレベルの統合を可能にします。AWRL1432は、キック・ツー・オープン、駐車支援、死角検出、ドア障害物検出などのアプリケーションで使用される、低消費電力、自己監視型、超高精度車載用レーダーシステム向けに設計されています。
特徴
- FMCWトランシーバ
- PLL、トランスミッタ、レシーバ、ベースバンド、ADCを内蔵
- 5GHzの連続帯域幅で76GHz~81GHzをカバー
- 3つの受信チャネルと2つの送信チャネル
- 短距離
- Txあたりの出力電力:11dBm(代表値)
- ノイズ指数:14dB(代表値)
- 1MHzでの位相ノイズ:-89dBc/Hz(代表値)
- FMCW動作
- 5MHzのIF帯域幅、リアル専用Rxチャンネル
- フラクショナルN PLLに基づいた超精密チップ・エンジン
- トランスミッタごとのバイナリ位相シフタ
- 処理部品
- 単精度FPUを搭載したArm® M4F® コア(160MHz)
- FFT、対数振幅、CFAR動作用のTI レーダー・ハードウェア・アクセラレータ(HWA1.2)(80MHz)
- 複数の低消費電力モードをサポート
- アイドルモードとディープスリープモード
- 電源管理
- 1.8Vおよび3.3Vの IO サポート
- 強化されたPSRR向けの組み込みLDOネットワーク
- BOM最適化モードと電力最適化モード
- 1.8V IOモード用の1つまたは2つの電源レール、3.3V IOモード用の2つまたは3つの電源レール
- FCCSPデバイスのパッケージサイズ:6.45mm x 6.45mm
- 内蔵キャリブレーションとセルフテスト機能
- 内蔵ファームウェア (ROM)
- 自己完結型オンチップのキャリブレーション・システム
- ホストインターフェイス
- UART
- CAN-FD
- SPI
- LIN
- 未加工ADCサンプルキャプチャ用RDIF(レーダー・データ・インターフェイス)
- ユーザーアプリケーションで利用可能なその他のインターフェイス
- QSPI
- I2C
- JTAG
- GPIO
- PWMインターフェイス
- 内部メモリ
- 1MBのオンチップRAM
- レーダーキューブ用の構成可能なL3共有メモリ
- データおよびコードRAM (512/640/768KB)
- 機能安全に準拠したターゲット
- 機能安全アプリケーション用に開発済
- 最大ASIL Bまでのハードウェア整合性
- 12 x 12、102BGAボールのFCCSPパッケージ
- AECQ-100準拠
- クロックソース
- プライマリクロック用40.0MHz 水晶振動子
- 40.0MHzの外部駆動クロック(方形波/正弦波)をサポート
- 低消費電力動作のための32kHz内部発振器
- 動作時の対応温度範囲
- 接合部動作温度:-40°C〜125°C
アプリケーション
- キック・ツー・オープン(ブート)
- 自動パーキング
- カードア開閉装置
- クロストラフィックアシスト(フロント)
- 死角検出
- レーン変更支援
機能ブロック図
公開: 2024-08-20
| 更新済み: 2025-05-15
