Texas Instruments AWRL6432-Q1自動車mmWaveレーダー・センサ
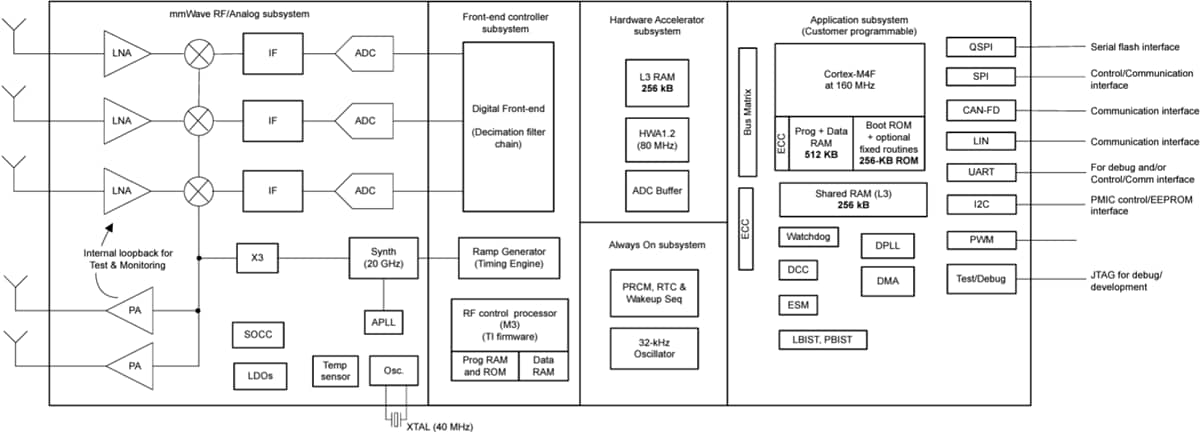
Texas Instruments AWRL6432-Q1自動車mmWaveレーダー・センサは、FMWCレーダー技術に基づく統合型シングルチップmmWaveセンサです。これらのレーダー・センサ は、自動車アプリケーションのAEC-Q100認定を受けており、57GHz~63.9GHzのカバレッジで、7GHz連続帯域幅で動作します。AWRL6432-Q1レーダー・センサは、RF/アナログ・サブシステム、フロントエンド・コントローラ・サブシステム(FECSS) 、アプリケーション・サブシステム(APPSS) 、ハードウェア・アクセラレータ(HWA) の4つの電源ドメインに分かれています。これらのレーダー・センサは、組み込みFirmWare、PSRRを強化するための組み込みLDOネットワークが特徴です。レーダー・センサは、アイドル・モードやディープ・スリープ・モードなど、複数の低電力モードをサポートします。低電力のスリープ・モードは、クロック・ゲーティングとデバイスの内部IPブロックをオフにすることで実現されます。代表的なアプリケーションには、車室内のセンシング、子供の存在検出、占有検出、シートベルト・リマインダー、侵入者検出、ジェスチャーベースのHMI、ドライバーのバイタルサイン監視などがあります。特徴
- AEC Q-100認定
- FMCWトランシーバ
- 統合PLL、トランスミッタ、レシーバ、ベースバンド、およびADC
- 57GHz~64GHzのカバレッジ (7GHzの連続帯域幅を備えた)
- 3つの受信チャンネルと2つの送信チャンネル
- 最大25mの標準範囲
- Txあたり11dBmの標準出力電力
- 11dBの標準ノイズ指数
- -89dBc/Hzの標準位相ノイズ (1MHzで)
- FMCW動作
- 5MHzのIF帯域幅、リアル専用Rxチャンネル
- フラクショナルN PLLに基づいた超精密チップ・エンジン
- トランスミッタごとのバイナリ位相シフタ
- 処理要素:
- 単精度FPU (160MHz) を搭載したArm® M4F® コア
- レーダー・ハードウェア・アクセラレータ (HWA1.2) (FFT、ログ・マグニチュード、CFAR動作 (80MHz) 用)
- 電源管理:
- 1.8Vおよび3.3Vの IO サポート
- 強化されたPSRR向けの組み込みLDOネットワーク
- BOM最適化モードと電力最適化モード
- 1.8V IOモードでは1つまたは2つの電源レール、3.3V IOモードでは2つまたは3つの電源レール
- ホスト インターフェイス:
- UART
- CAN-FD
- SPI
- LIN
- 生のADCサンプル・キャプチャ用のレーダー・データ・インターフェイス (RDIF)
- 組み込みキャリブレーションおよびセルフテスト:
- 組み込みFirmWare (ROM)
- 自己完結型オンチップのキャリブレーション・システム
- ユーザーアプリケーションで利用可能な他のインターフェイス:
- QSPI
- I2C
- JTAG
- GPIO
- PWMインターフェイス
- 内部メモリ:
- 1MBのオンチップRAM
- レーダーキューブ用に設定可能なL3共有メモリ
- データおよびコードRAM (512KB/640KB/768KB)
- 機能安全準拠のターゲット:
- 開発される機能安全アプリケーション
- ASIL B ターゲットのハードウェア整合性
- サポートする複数の低電力モードは次の通りです:
- アイドル・モードとディープスリープ・モード
- FCCSPパッケージ:
- 12x12 BGAグリッド
- 102 個のBGAボール
- パッケージ サイズ:6.45mm x 6.45mm
- クロック・ソース:
- プライマリ・クロック用の40.0MHz水晶振動子
- 40MHzの外部駆動クロック (方形波/正弦波) をサポート
- 32kHz低消費電力動作のための内部発振器
- 接合部動作温度範囲:-40°C~125°C
アプリケーション
- キャビン内センシング
- 子供の存在検出
- 占有検出
- シートベルトのリマインダー
- 侵入者検出
- ジェスチャーベースのHMI
- ドライバの重要なサイン監視
ブロック図
その他の資料
公開: 2024-04-19
| 更新済み: 2025-05-08
