Texas Instruments bq76907/bq76907-Q1低電力モニタと保護装置
Texas Instruments bq76907/bq76907-Q1低電力モニタと保護装置は、高集積、高精度バッテリモニタと保護装置を実現しており、2シリーズ ~7シリーズリチウムイオン、リチウムポリマー、LiFePO4 (LFP) 、LTOバッテリパックを対象としています。このデバイスには、専用のクーロン・カウンターと蓄積電荷を統合した高精度モニタリング・システム、高度に設定可能な保護サブシステム、およびホスト制御のセルバランシング・サポートが含まれます。統合には、低圧側保護NFETドライバ、外部システム使用のためのプログラマブルLDO、オプションのCRCでの最大400kHz動作に対応しているI2Cホスト通信インターフェイスがあります。Texas Instruments bq76907/bq76907-Q1は、20ピンQFNパッケージでご用意があります。bq76907-Q1は、自動車アプリケーションを対象としたAEC-Q100認定を受けています。特徴
- 2シリーズ~7シリーズセルのバッテリ監視機能
- NFET保護用の統合ローサイドドライバとオプションの自律回復
- 電圧、温度、電流、内部診断をはじめとする豊富な保護スイート
- 16ビットデルタシグマ電圧ADC
- 4mVの高精度セル電圧測定 (代表値)
- 専用の 16 ビットまたは 24 ビットデルタシグマ クーロンカウンタADC
- 低い入力オフセット誤差による高精度な電流測定
- 広範囲の電流アプリケーション (センス抵抗間の測定範囲:±200mV)
- タイマー付き48ビット蓄積電荷積分器
- 複数の電力モード (一般的なバッテリパックの動作範囲条件)
- NORMAL モード:32µA~175µA
- スリープモード:6µA
- DEEPSLEEPモード:2.7µA
- シャットダウンモード: < 1µA
- ホスト制御のセルバランシング
- セル接続および追加ピンの選択における45Vの高電圧耐性
- 内部センサと外部サーミスタを使用した温度検知のサポート
- TI によってプログラムされた、デバイス設定用の統合ワンタイムプログラマブル (OTP) メモリ
- 400kHz I2Cシリアル通信(オプションのCRCサポートあり)
- 外部システムで使用するためのプログラム可能な LDO
- 20ピンQFN(RGR) パッケージ
アプリケーション
- コードレス電動工具と園芸工具
- 電気掃除機
- 非軍事ドローン
- その他の産業用バッテリパック (2シリーズ~7シリーズ)
データシート
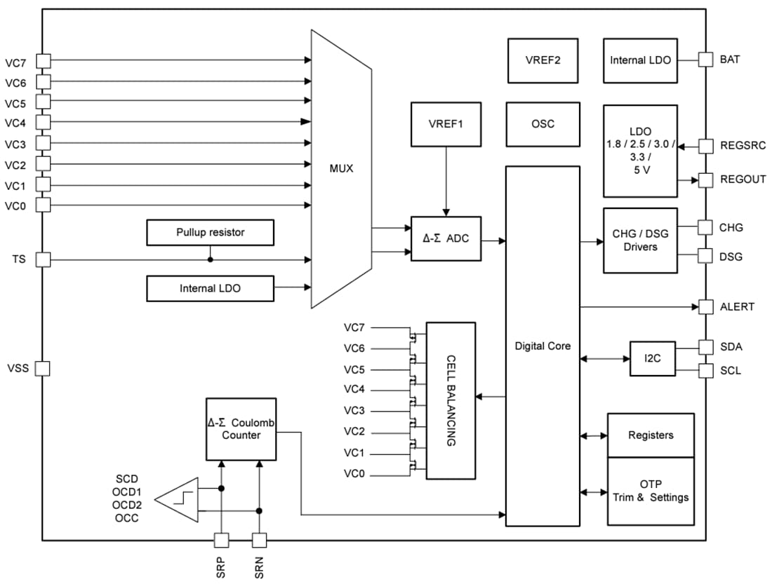
機能ブロック図
公開: 2024-02-06
| 更新済み: 2025-04-25
