Texas Instruments CC3235x SimpleLink™ Wi-Fi® MCUソリューション
Texas Instruments CC3235x SimpleLink™ Wi-Fi®、デュアルバンド・シングルチップ・ワイヤレスMCUソリューションで、2つの統合シングルチップ内のプロセッサ、CC3235S、CC3235SFの2種類があります。CC3235Sには、256KBのRAM、IoTネットワーキング・セキュリティ、デバイスID/キーが組み込まれています。CC3235Sには、ファイルシステム暗号化、ユーザIP(MCUイメージ)暗号化、セキュアブート、デバッグセキュリティといったMCUレベルのセキュリティ機能も追加されています。CC3235SFは、CC3235Sをで構築されており、256KBのRAMに加えてユーザ専用1MBの実行可能フラッシュが統合されています。CC3235x SimpleLink™シリーズはすべてのWi-Fiおよびインターネット論理レイヤを実行するネットワークプロセッサを提供します。ROMベースのサブシステムは、ホストMCUを完全にオフロードし、802.11a/b/g/nデュアルバンド2.4GHzおよび5GHz無線、ベースバンド、MACが搭載されており、パワフルなハードウェア暗号化エンジン備わっています。CC3235xは、IoTアプリケーションの接続を簡素化する新機能が特徴です。これらの機能には、802.11a(5GHz)サポート、BLE/2.4GHz無線共存、アンテナ選択、FIPS 140-2レベル1認証によるセキュリティ強化、最大16個の同時セキュアソケット、証明書署名要求(CSR)が含まれます。
特徴
- 複数コア・アーキテクチャ、システムオンチップ(SoC)
- 802.11 a/b/g/n: 2.4GHzおよび5GHz
- FIPS 140-2レベル1認証
- 開発者がID、データ、ソフトウェアIPを保護することに役立つ多層セキュリティ機能
- バッテリ駆動アプリケーション向け低電力モード
- 2.4GHz無線との共存
- 産業温度: –40°C~+85°C
- Wi-Fi CERTIFIED™、Wi-Fi Alliance®
- アプリケーション・マイクロコントローラ・サブシステム:
- Arm® Cortex®-M4コア@80MHz
- ユーザ専用メモリ
- 256KB RAM
- オプションの1MB実行可能フラッシュ
- 豊富な周辺機器とタイマ
- 柔軟性のある多重化オプションがある27のI/Oピン
- UART、I2S、I2C、SPI、SD、ADC、8ビット・パラレル・インターフェイス
- タイマとPWM
- Wi-Fiネットワーク・プロセッサ・サブシステム
- Wi-Fi®コア:
- 802.11 a/b/g/n 2.4GHzおよび5GHz
- モード:
- アクセスポイント(AP)
- ステーション(STA)
- Wi-Fi Direct®(2.4GHzでのみサポート)
- セキュリティ:
- WEP
- WPA™/WPA2™ PSK
- WPA2エンタープライズ
- インターネットとアプリケーション・プロトコル:
- HTTPサーバ、mDNS、DNS-SD、DHCP
- IPv4およびIPv6 TCP/IPスタック
- 16 BSDソケット(完全に保護されたTLS v1.2とSSL 3.0)
- 内蔵電力管理サブシステム
- 構成可能な低電力特性(当時、断続、タグ)
- 高度低消費電力モード
- 統合DC/DCレギュレータ
- Wi-Fi®コア:
- 多層セキュリティ機能:
- 個別の実行環境
- ネットワーキングセキュリティ
- デバイスのアイデンティティとキー
- ハードウェア・アクセラレータ暗号化エンジン(AES、DES、SHA/MD5、CRC)
- アプリケーションレベルのセキュリティ(暗号化、認証、アクセス制御)
- 最初の安全なプログラミング
- ソフトウェアタンパー検出
- セキュアブート
- 証明書署名要求(CSR)
- デバイスキー・ペアごとに一意
- アプリケーション・スループット:
- UDP: 16Mbps、TCP: 13Mbps
- ピーク: 72Mbps
- 電力管理サブシステム:
- 統合DC/DCコンバータは、広範な供給電圧に対応:
- VBATの広い電圧モード: 2.1V~3.6V
- VIOは常にVBATと連動
- 高度低電力モード:
- シャットダウン: 1µA、休止状態: 4.5µA
- 低電力ディープスリープ (LPDS): 120µA
- アイドル接続(LPDSでのMCU): 710µA
- RXトラフィック(MCUアクティブ): 59mA
- TXトラフィック(MCUアクティブ): 223mA
- 統合DC/DCコンバータは、広範な供給電圧に対応:
- Wi-Fi TX電力:
- 2.4GHz: 18.0dBm @ 1 DSSS
- 5GHz: 18.1dBm @ 6 OFDM
- Wi-Fi RX感度:
- 2.4GHz: –96dBm @ 1 DSSS
- 5GHz: –92dBm @ 6 OFDM
- クロックソース:
- 内部発振器を備えた40.0MHzクリスタル
- 32.768kHzクリスタルまたは外部RTC
- RGKパッケージ
- 64ピン、9mm × 9mm超薄型クワッド・フラット非リード(VQFN)パッケージ、0.5mmピッチ
- デバイスは、SimpleLink™ MCUプラットフォーム開発者のエコシステムをサポート
アプリケーション
- モノのインターネット(IoT)
- ビルとホームオートメーション:
- HVACシステムとサーモスタット
- カメラ監視、ビデオドアベル、低電力カメラ
- セキュリティシステムの構築と電子ロック
- 電化製品
- 資産追跡
- ファクトリオートメーション
- 医療、ヘルスケア
- グリッドインフラ
- ビルとホームオートメーション:
ビデオ
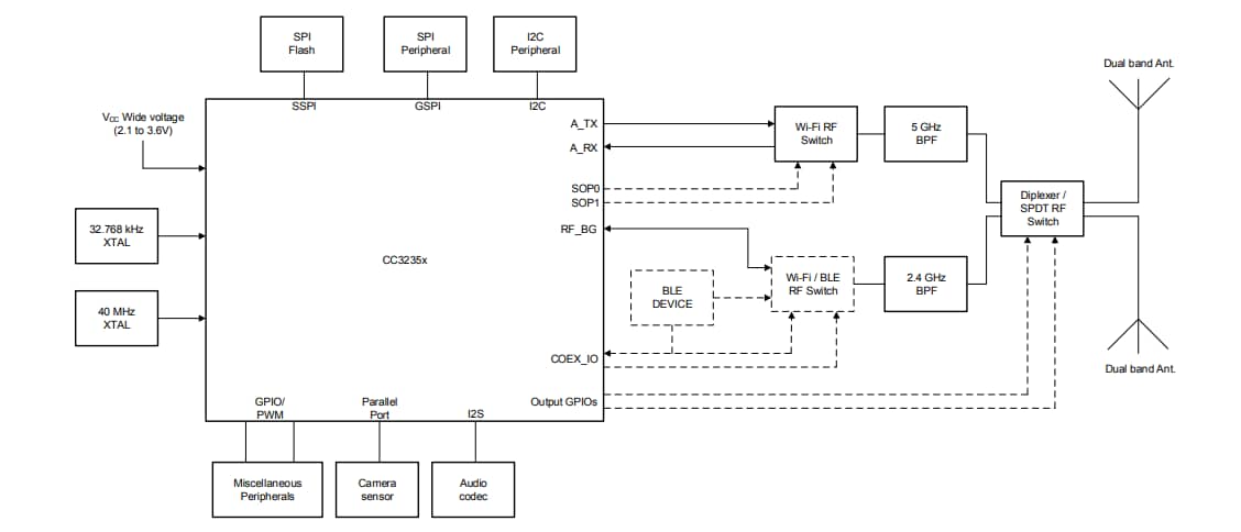
機能ブロック図
ハードウェアの概要
公開: 2019-02-19
| 更新済み: 2024-05-16
