Texas Instruments DACx1402デュアルチャンネルデジタル・アナログ・コンバータ
Texas Instruments DACx1402デュアルチャンネルデジタルアナログコンバータ(DAC)は、16ビット(DAC81402)または12ビット(DAC61402)、デュアルチャンネル、バッファ済、高電圧出力DACです。デバイスには、大半のアプリケーションにおいて外部の高精度リファレンスが不要になる低ドリフト2.5V内部リファレンスが搭載されています。デバイスは指定されたモノシリックで、 ±1LSB INLの高直線性を実現しています。また、IRドロップを排除し最高 ±12Vまでの接地バウンスをセンシングするチャンネルごとにセンシングピンを実装しています。ユーザー選択可能な出力構成によって、フルスケール・バイポーラ出力電圧±20V、±10V、±5V、ならびにフルスケール・ユニポーラ出力電圧40V、20V、10Vまたは5Vが実現します。各DACチャンネルのフルスケール出力範囲は、個別にプログラム可能です。統合DAC出力バッファは、最高15mAまでシンクまたはソースでき、これによってオペレーショナル・アンプを追加する必要がありません。
Texas Instruments DACx1402には、パワーアップでDAC出力を接地に接続するパワーオンリセット回路が組み込まれています。動作用にデバイスが適切に構成されるまで、出力はこのモードのまま維持されます。デバイスには、CRCエラーチェック、短絡保護、熱アラームといった追加の信頼性機能が搭載されています。デバイスへの通信は、1.7V~5.5Vの動作をサポートしている4線式シリアル・インターフェイスを介して実行されます。
特徴
- 性能
- 16ビットまたは12ビット分解能で単調指定
- 16ビットまたは12ビット分解能でINL-±1LSB(最大)
- TUE - ±0.05% FSR(最大)
- 集積出力バッファ
- フルスケール出力電圧(±5V、±10V、±20V、5V、10V、20V、40V)
- ±15mA高駆動機能
- チャンネルごとのセンスピン
- 集積2.5V高精度リファレンス
- ±2.5mV(最高)初期精度
- 10ppm/°C(最高)低ドリフト
- 信頼性の高い機能
- CRCエラーチェック
- 短絡制限
- 障害ピン
- 50MHz、SPI互換シリアル・インターフェイス
- 4ワイヤモード、1.7V~5.5Vの動作
- リードバックとデイジーチェーン動作
- –40°C~+125°C温度範囲
- 5mm × 5mm、32ピンQFNパッケージ
アプリケーション
- サーボ駆動制御モジュール
- アナログ出力モジュール
- ラボとフィールド計測
- データアクイジション(DAQ)
- 半導体テスト
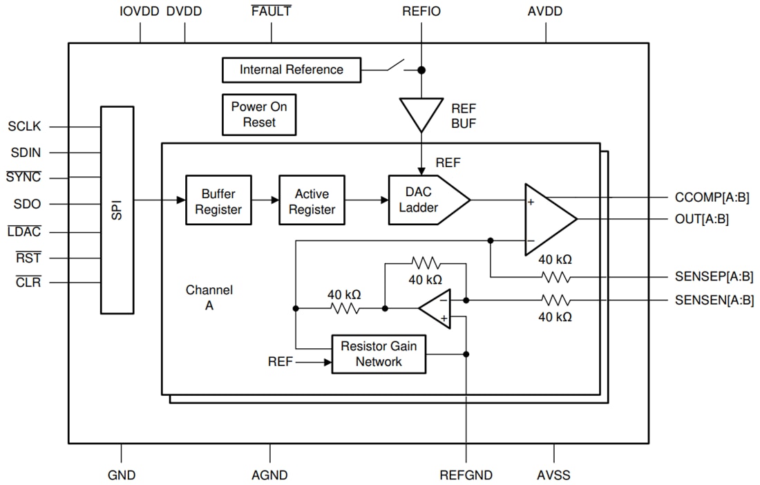
機能ブロック図
公開: 2020-12-18
| 更新済み: 2024-10-22
