Texas Instruments DACx0504電圧出力DAC
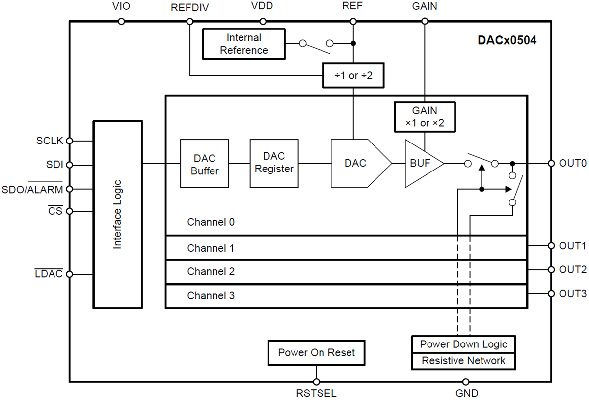
Texas Instruments DACx0504電圧出力デジタル・アナログ・コンバータ(DAC)は、低消費電力、4チャンネル、バッファ付き電圧出力DACで、16ビットまたは14ビット分解能が備わっています。DACx0504には、低ドリフト、2.5以上の内部リファレンスが備わっており、大半のアプリケーションでの外部高精度リファレンスが不要です。ユーザーセレクタブル・ゲイン設定によって、1.25V(ゲイン=1/2)、2.5V(ゲイン=1)、または5V(ゲイン= 2)のフルスケール出力電圧が実現しています。これらのデバイスは、2.7V~5.5V単電源で動作します。また、モノシリックに指定されており、±1LSB INLの高直線性を実現しています。DACx0504への通信は、最高50MHzまでのクロック・レートで動作する4-Wireシリアル・インターフェイスから実施されます。VIOピンによって、1.7V~5.5Vのシリアル・インターフェイス動作が可能になります。DACx0504フレキシブル・インターフェイスによって、広範な業界標準マイクロプロセッサとマイクロコントローラの動作が実現します。
DACx0504には、パワーオンリセット回路が組み込まれており、有効なコードがデバイスに書き込まれるまで、ゼロ・スケールまたはミッド・スケールのいずれかでDAC出力をパワーアップして維持します。これらのデバイスは、5.5Vで0.7mA/チャンネルという低電流を消費し、バッテリ駆動機器に適しています。チャネル毎のパワーダウン機能によって、15μAまで電流消費を低減できます。
特徴
- 性能
- INL:最大±1LSB、16ビット分解能
- TUE: FSRの最大±0.1%
- 統合2.5V高精度内部リファレンス
- 初期精度: ±5mV(最大)
- 低ドリフト: 標準 ppm/°C、DAC80504
- 高い駆動能力: 20mA、電源レールから0.5V
- 柔軟性に富んだ出力構成
- ユーザ選択可能なゲイン:1、2または1/2(GAINピン)
- ゼロスケールまたはミッドスケールへのリセット
- 幅広い動作範囲
- 電源: 2.7V~5.5V
- 温度: –40˚C~+125˚C
- 50MHz、SPI互換シリアル・インターフェイス
- 4ワイヤモード、1.7V~5.5Vの動作
- デイジーチェーン動作
- CRCエラーチェック
- 低消費電力: 0.7mA/チャンネル@ 5.5V
- 小型パッケージ: 3mm×3mm、16ピンWQFN
アプリケーション
- 光ネットワーキング
- 無線インフラストラクチャ
- 産業用オートメーション
- データ収集システム
機能ブロック図
公開: 2018-10-17
| 更新済み: 2023-07-11
