Texas Instruments DP83848x 10/100Mb/sイーサネットPHY
Texas Instruments DP83848x 10/100Mb/sイーサネットPHYは、イーサネット接続が必要なアプリケーション向けに設計されており、一般的な産業用温度範囲を超える拡張温度性能を提供します。Texas Instruments DP83848xは、高い信頼性を持ち、機能が豊富な堅牢なデバイスで、極端な温度から商業用温度までのさまざまな温度範囲でIEEE 802.3標準に準拠しています。このデバイスは、厳しい環境に最適であり、自動車および輸送アプリケーション、ワイヤレスリモート基地局、産業用制御システムに適しています。RMIIまたはMIIインターフェイスの選択肢を提供し、MPUの選択における最大の柔軟性を実現するとともに、強化されたESD保護を備えています。すべてがコンパクトな48ピン設計にまとめられています。
特徴
- 複数温度範囲:-40°C〜105°C
- CMOSテクノロジー低消費電力:3.3V、0.18µm
- 標準低消費電力:270mW未満
- MACインターフェイス:3.3V
- 10/100Mb/s向け自動検MDIX
- エネルギー検出モード
- クロック出力:25MHz
- SNIインターフェイス(設定可能)
- RMII Rev.1.2インターフェイス(設定可能)
- MIIシリアル管理インターフェイス(MDCおよびMDIO)
- IEEE 802.3MII
- IEEE 802.3オートネゴシエーションおよびパラレル検出
- IEEE 802.3 ENDEC、10BASE-Tトランシーバおよびフィルタ
- IEEE 802.3 PCS、100BASE-TXトランシーバおよびフィルタ
- IEEE 1,149.1 JTAG
- 統合ANSIX3.263準拠TP-PMD
- 適応型イコライゼーションとベースラインワンダ補償を備えた物理サブレイヤー
- 150メートルまでエラーフリーオペレーション
- リンク状態、10/100Mb/sモード、アクティビティ、二重、衝突検出のためのプログラム可能なLEDサポート
- PHYの完全なステータスを確認するためのシングルレジスタアクセス
- 10/100Mb/sパケットBIST(内蔵セルフテスト)
アプリケーション
- 自動車/輸送
- 産業用制御機器およびファクトリーオートメーション
- 一般的な組み込みアプリケーション
ビデオ
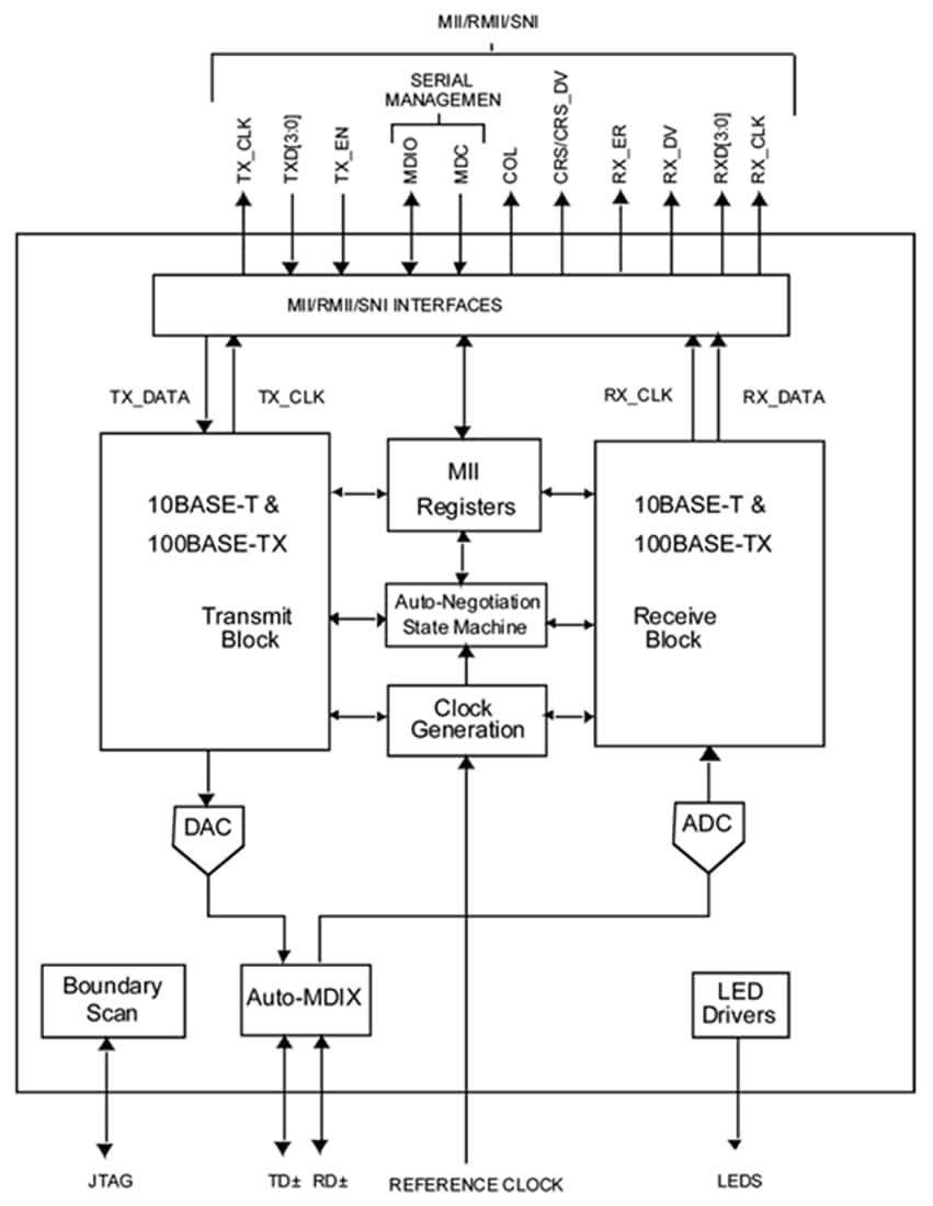
機能ブロック図
公開: 2024-10-29
| 更新済み: 2024-12-13
