Texas Instruments DRV10983 3相センサレスBLDCモーター・ドライバ
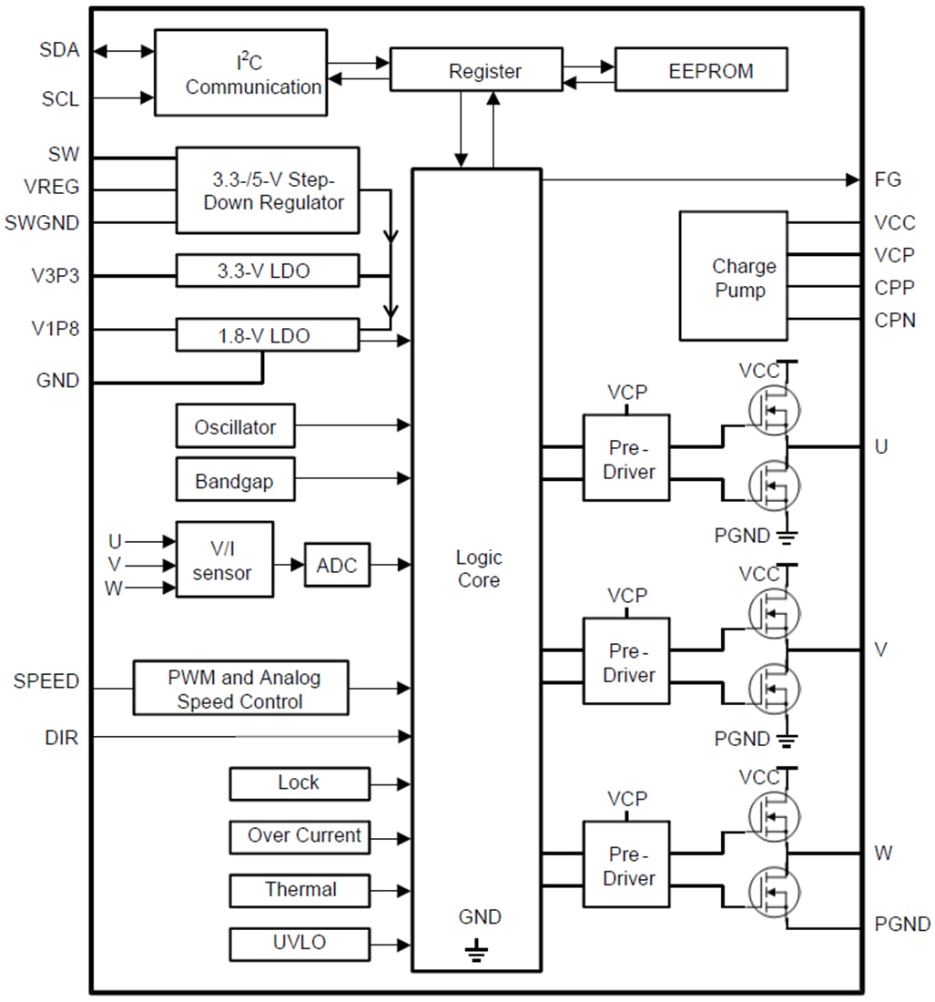
テキサス・インスツルメンツの3相センサレスBLDCモーター・ドライバDRV10983は、最大2Aの連続駆動電流を提供する統合パワーMOSFETを搭載した、3相のセンサレス・モーター・ドライバです。このデバイスは特に、原価重視、低ノイズ、外部部品数の少なさを要件とするアプリケーションのために設計されています。DRV10983は、専用センサレス制御方式を採用し、連続正弦波駆動を可能にします。これにより、一般的には通信の結果として発生する音響効果の純音を大幅に低減させます。デバイスのインターフェイスは、シンプルで柔軟性のある設計になっています。モーターは、PWM、アナログ、あるいはI2C入力で直接制御できます。モーターの速度フィードバックは、FGピン、I2Cのいずれかから入手できます。特徴
- Input Voltage Range: 8 to 30V
- Total Driver H + L RDSon: 250mΩ
- Drive Current: 2A Continuous (3A Peak)
- Sensorless Proprietary Back Electromotive Force (BEMF) Control Scheme
- Continuous Sinusoidal 180° Commutation
- No External Sense Resistor Required
- For Flexibility User may Include External Sense Resistor to Monitor Power Delivered to the Motor
- Flexible User Interface Options
- I2C Interface: Access Registers for Command and Feedback
- Dedicated SPEED Pin: Accepts Either Analog or PWM Input
- Dedicated FG Pin: Provides TACH Feedback
- Spin Up Profile can be Customized With EEPROM
- Forward/Reverse Control With DIR Pin
- Integrated Buck/Linear Converter to Efficiently Provide Voltage (5V/3.3V) for Internal and External Circuits
- Supply Current 3.5mA With Standby Version (DRV10983)
- Overcurrent Protection
- Lock Detection
- Voltage Surge Protection
- UVLO Protection
- Thermal Shutdown Protection
- Thermally Enhanced 24-Pin HTSSOP
アプリケーション
- Appliance Fan
- HVAC
Datasheets
Functional Block Diagram
TI Reference Designs Library
公開: 2014-08-19
| 更新済み: 2022-03-11
