連続正弦波駆動を実現しているDRV10987には、独自のセンサレス制御スキームが使用されており、一般的に整流の結果として生じる純粋なトーンの音響を大幅に低減できます。簡単で柔軟性に富んだI2Cインターフェイスによって、FGピンを用いた同時モータ速度フィードバックを実現できます。さらに、I2Cインターフェイスを使用して、レジスタで特定のモータ・パラメータを再プログラミングしたりEEPROMをプログラミングでき、結果的に特定のアプリケーションで最適な性能が得られます。内部と外部の両方の回路は、DRV10987を5Vまでパワーダウンできる統合バックレギュレータによって駆動されています。DRV10987は、露出パッド付で熱効率に優れたHTSSOP-24パッケージでご用意があり、コストに敏感な低ノイズ低外付け部品数ファン・ポンプアプリケーション用に特別に設計されています。
特徴
- 動作電圧範囲:
- モータ動作、6.2V~28V
- トータルドライバH + L rDS(on)
- 250mΩ @ TA = 25°C
- 駆動電流: 連続2A巻線電流(3Aピーク)
- 180°正弦波センサレス通信方式
- EMI管理用の構成可能な出力PWMスルーレートと周波数
- スタートアップ時のバックスピンを回避できる初期位置検出アルゴリズム
- 外部検出レジスタ不要
- 柔軟性のあるユーザ・インターフェイスのオプション:
- I2Cインターフェイス: コマンドおよびフィードバック用のアクセス・レジスタ
- 専用SPEEDピン: アナログまたはPWMの入力に対応
- 専用FGピン: TACHフィードバックを供給
- スピンアップ・プロファイルはEEPROMでカスタマイズ可能
- DIRピンで正逆転制御
- 統合バックコンバータ、5V、100mA
- 統合LDO、3.3V、20mA
- スタンバイ電流、8.5mA
- スタンバイバージョン(DRV10987S)での8.5mA消費電流
- スリープバージョンでの48µA供給電流(DRV10987D)
- 保護機能
- 過電流保護(位相対位相、位相対GND、位相対VCC短絡)
- ローターロック状態を検出するロック検出
- 耐電圧サージ(AVS)保護
- 低電圧誤動作防止(UVLO)機能
- 過電圧保護
- 温度警告とシャットダウン
- 放熱特性に優れたパッケージ
アプリケーション
- 台座と天井ファン
- 空気清浄器および加湿器
- ドライヤ循環ファン
- ドレインとウォーターポンプ
- 3相BLDCおよびPMSMモータ
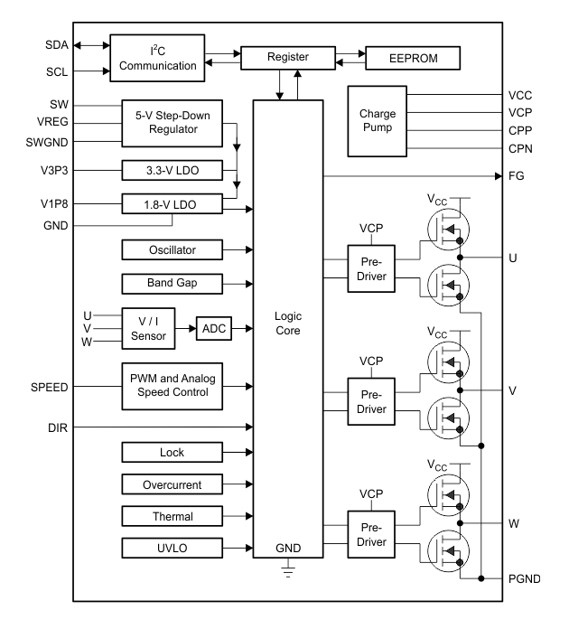
DRV10987のブロック図
公開: 2018-04-04
| 更新済み: 2022-11-18

