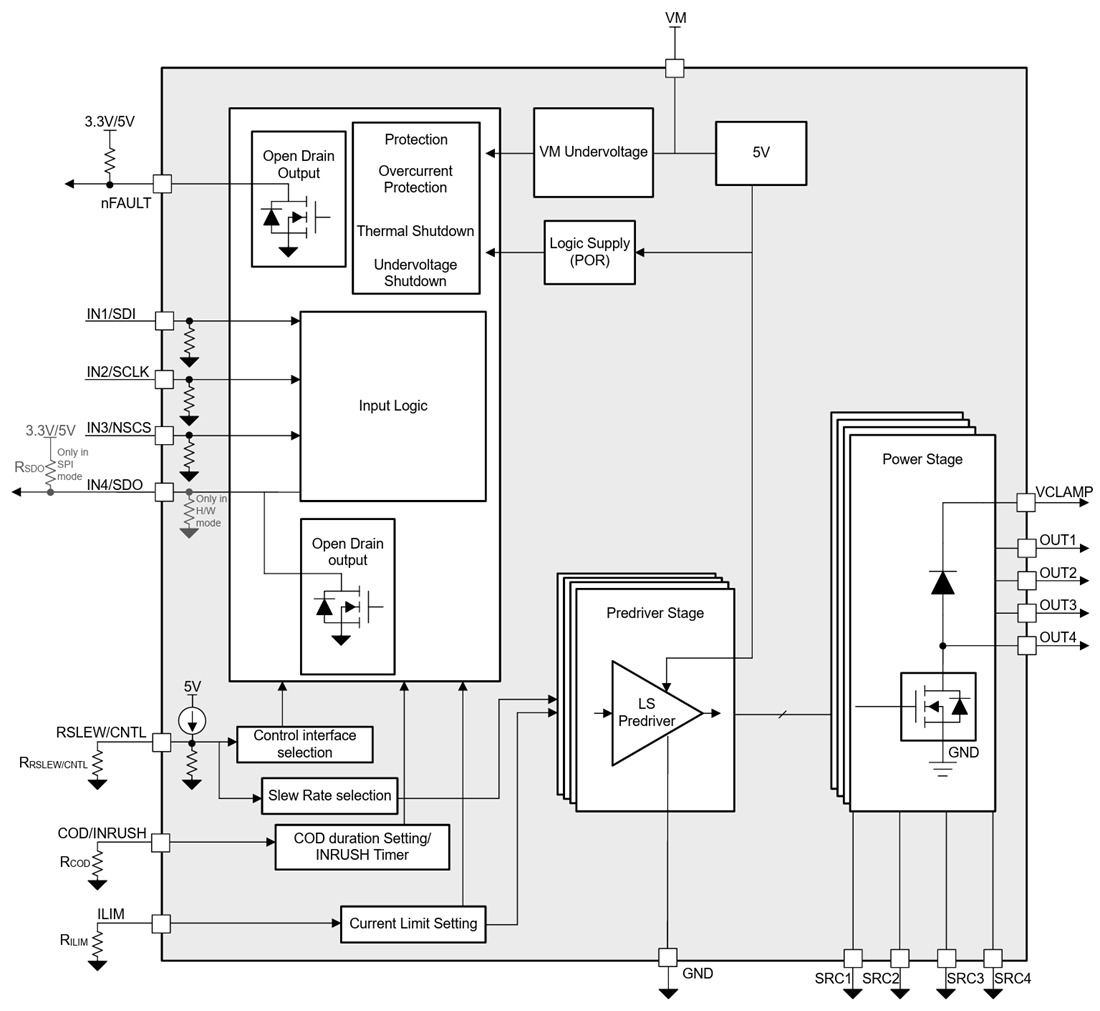
テキサス・インスツルメンツ (Texas Instruments) DRV81646は、ハードウェアGPIOインターフェイスで制御できます。各チャンネルは、個別の過熱保護機能を備えており、ILIMピンの外部抵抗器で調整可能なアナログ電流制限を設定できます。オプションのカットオフ遅延(COD)構成があり、各チャンネルにおける電流制限状態の持続時間を制限して、デバイスまたは負荷への損傷を防止できます。出力スルーレートは、RSLEW/CNTLピンに抵抗器を設定することで構成できるため、出力スイッチをより柔軟に制御できます。このデバイスは、容量性負荷の電流制限スレッショルドを昇圧するINRUSHモードを備えています。
DRV81646は、障害状態を通知するための障害出力ピン(nFAULT)を備えており、SPIモードでチャンネルごとの障害状態を監視できます。この機能により、ユーザーは障害が発生した場合にすばやく識別し、対応できます。
特徴
- 4チャンネル内蔵ローサイドスイッチ:
- RDS(ON):140mΩ(25°C時)
- 動作電源電圧範囲:4.5V~65V(絶対最大定格70V)
- チャンネルごとに0.5A~4Aの電流制限を選択可能
- 最大500kHzの高速PWMスイッチング
- 柔軟なインターフェイスオプション:
- 独立したチャンネルPWM入力を備えたハードウェアインターフェイス
- SPIにより、チャンネル数の多い設計におけるGPIOと絶縁オーバーヘッドの削減が可能
- 柔軟な減衰モードを実現する内蔵キャッチダイオードと、スイッチのターンオフ時の代替電流パスとして使用できるオプションの外部TVS / Zenerダイオード
- スルーレートを構成可能(100ns~1500ns)で、低速 / 高速の両方のスイッチングアプリケーションに対応
- 診断フィードバック:
- MCU障害割り込み信号(nFAULT)
- チャンネルごとの障害報告をSPI経由で使用可能
- 保護機能
- ユーザー設定可能な電流制限
- 各チャンネルごとの独立した過熱および過電流保護
- 構成可能な過電流カットオフ遅延(COD)0.5ms-2ms
アプリケーション
- PLC
- 分散I/O
- フィールドデバイス
- 一般的なリレーおよびソレノイドドライブ
- 繊維機械
機能ブロック図
公開: 2026-01-21
| 更新済み: 2026-01-28

