Texas Instruments DS90UB953A-Q1 FPD-Link III 4.16Gbpsシリアライザ
Texas Instruments DS90UB953A-Q1 FPD-Link III 4.16Gbpsシリアライザは、60fpsならびに4MPでの2.3MPイメージャ、30fpsカメラ、衛星レーダ、LIDAR、飛行時間(ToF)センサなど、高速生データセンサに対応するように設計されています。DS90UB953A-Q1は、温度範囲が–40°C~125°Cと広く、あらゆる小型カメラ・アプリケーションを対象としたさらにコンパクトで柔軟性に富んだセンサモジュール設計が実現します。このチップは、4.16Gbps順方向チャンネルおよび超低レイテンシ、50Mbps双方向制御チャンネルを実現しており、単一同軸ケーブル(PoC)あるいはSTPケーブルをから電力をサポートします。このデバイスは、高度データ保護と診断機能を活用したADASおよび自律駆動に対応しています。DS90UB953A-Q1には、コンパニオン・デシリアライザが組み合わされており、精密なマルチカメラ・センサ・クロックとセンサ同期を行います。DS90UB953A-Q1は、車載用アプリケーションを対象としたAEC-Q100認定を受けています。
特徴
- 車載アプリケーション向けAEC-Q100(Grade 1)認定:
- デバイス温度: –40°C~+125°Cの周囲動作温度
- ISO 10605およびIEC 61000-4-2 ESD準拠
- Power-over-Coax(PoC)互換トランシーバ
- 4.16Gbpsグレード・シリアライザは、フルHD 1080p 2.3MP 60fpsおよび4MP 30fpsイメージャをはじめとする高速センサに対応しています。
- D-PHY v1.2およびCSI-2 v1.3準拠のシステム・インターフェイス
- 各レーンあたり832Mbpsで最大4つのデータレーン
- 最大4つの仮想チャンネルをサポート
- 高精度マルチカメラ・クロッキングと同期
- シングルエンド同軸またはシールド・ツイストペア(STP)ケーブルをサポート
- 柔軟性に富んだプログラマブル出力クロックジェネレータ
- CRCデータ保護、センサ・データの統一性チェック、I2C書込保護、電圧/温度計測、プログラマブル・アラーム、ADASと自律運転をサポートしているライン障害検出を始めとする高度データ保護と診断機能が特徴です。
- 超低レイテンシ双方向I2CおよびGPIO制御チャンネルによって、ECUからのISP制御が実現
- 1.8Vの単電源
- 低(0.25W typical)電力消費
- DS90UB954-Q1、DS90UB964-Q1、DS90UB962-Q1、DS90UB936-Q1、DS90UB960-Q1、DS90UB934-Q1、DS90UB914A-Q1の各デシリアライザとの互換性あり
アプリケーション
- 先進運転支援システム(ADAS)
- サラウンドビュー・システムECU
- フロントとリアのカメラ
- ドライバ監視
- レーダーECU
- 機械的スキャンLIDAR
- 飛行時間型(ToF)カメラ
- アナログセキュリティカメラ
- MRI、超音波、X線システム
- 特殊な画像処理システム
代表的なアプリケーション
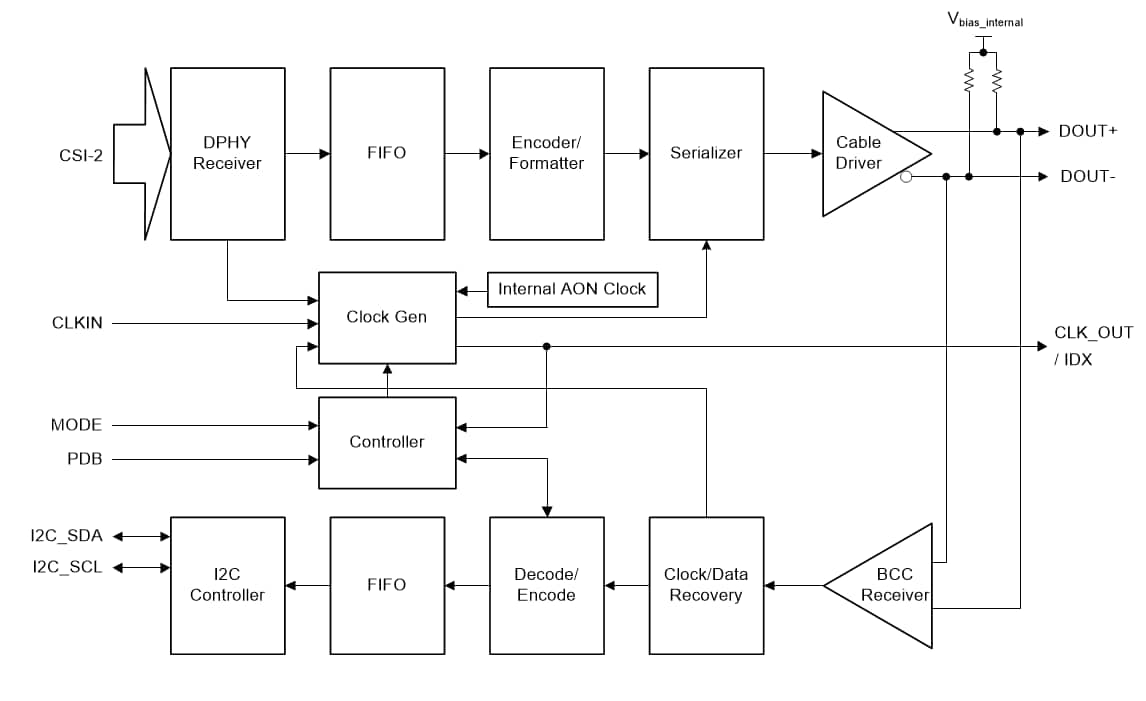
ブロック図
ビデオ
公開: 2019-05-20
| 更新済み: 2025-03-06
