Texas Instruments DS90UH949A-Q1 HDMI-to-FPD-Linkブリッジ・シリアライザ
Texas Instruments DS90UH949A-Q1 HDMI-to-FPD-Link IIIブリッジ・シリアライザは、FPD-Link III DS90UH940A-Q1/DS90UH948A-Q1デシアライザとペアリングし、1レーンまたは2レーンの高速シリアル・ストリームを供給できます。これらのストリームは、費用対効果の高い50Ωシングルエンド同軸、または100Ω差動密閉ツイストペア(STP)、およびシールド・ツイスト・(STQ)ケーブルで実施できます。このデバイスは、HDMI v1.4b入力をシリアル化し、24ビットの色深度で最大2Kまでのビデオ解像度をサポートしています。FPD-Link IIIインターフェースは、同じ差動リンク上でのI2CならびにSPI通信を含めて、ビデオとオーディオデータ伝送およびフルデュプレックス制御に対応しています。ビデオデータの構成および2つの差動ペアでの制御によって、相互接続のサイズと重量を減少させてシステム設計を簡素化できます。EMIは、低電圧差動シグナリング、データ・スクランブリング、ランダム化を採用することで最小限に抑えられています。下位互換モードでは、94xデシリアライザで1080pまで、92xデシリアライザで720pまでサポートしており、単一の差動リンクで24ビットの色深度が備わっています。
特徴
- 車載アプリケーション向けAEC-Q100認定
- デバイス温度グレード2: –40°C~105°Cの動作周囲温度範囲
- デバイスHBM ESD分類レベル2
- デバイスCDM ESD分類レベルC5
- 24ビット色深度で2K(2880x1080)解像度を目的に、TMDSクロック最大210MHzに対応
- シングルおよびデュアルFPD-Link III出力、STPまたはSTQケーブルをサポート
- 高品位マルチメディア(HDMI)v1.4b互換入力
- HDMIモードのディスプレイポート(DP++)入力
- オンチップ・キー・ストレージ搭載の統合HDCP v1.4暗号エンジン、
- 最大8チャンネルのHDMIオーディオ抽出
- GPIO最大2Mbpsをサポートしている高速バック・チャンネル
- EMIを低減するスペクトラム拡散クロックのトラッキング
- 1Mbpsの高速モードプラスが搭載されたI2C(マスタ/スレーブ)
- SPIパススルー・インターフェイス
- DS90UH926Q-Q1およびDS90UH928Q-Q1 FPD-Link IIIシリアライザとの下位互換性あり
アプリケーション
- 車載用インフォテイメント
- IVIヘッドユニットおよびHMIモジュール
- 後部座席エンターテイメントシステム
- デジタルインストルメントクラスタ
- セキュリティと監視カメラ
- 消費者入力HDMIポート
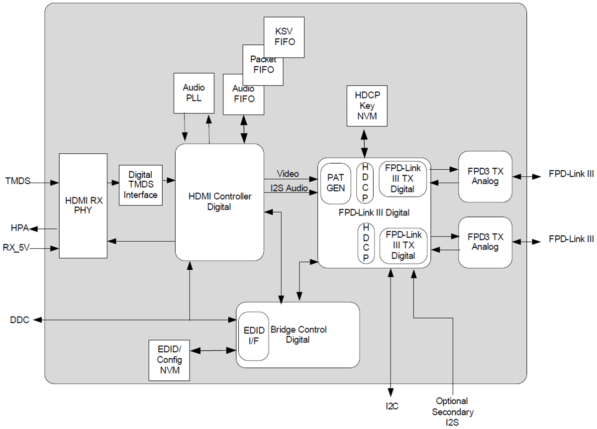
機能ブロック図
ビデオ
公開: 2018-09-26
| 更新済み: 2025-03-10
