Texas Instruments IWR1443シングルチップ76-81GHz mmWaveセンサ
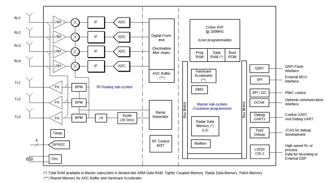
Texas Instruments IWR1443シングルチップmmWaveセンサは、FMCWレーダー技術に基づいており、76~81GHz帯域での動作が可能で、最高4GHzまでの連続チップが備わっています。IWR1443は、工業アプリケーションでの低消費電力、セルフモニタリング、超高精度レーダ・システムに最適なソリューションです。IWR1443は、TIの低消費電力45nm RFCMOSプロセスで構築されており、極めて小さなフォーム・ファクタでの新レベルの統合が可能です。このデバイスには、内蔵PLLおよびA2Dコンバータが備わった3TX、4RXシステムのモノリシック実装があります。完全に構成可能なハードウェア・アクセラレータは、複合FFTおよびCFAR検出をサポートしているmmWaveセンサに含まれています。また、このデバイスには、2つのARM R4Fベースのプロセッサ・サブシステムも搭載されています。1つのプロセッサ・サブシステムは、マスタ制御およびその他のアルゴリズムを対象としています。セカンド・プロセッサ・サブシステムは、フロントエンドの設定、制御、調整を担当します。簡単なプログラミング・モデル変更によって、マルチモードセンサの実装を目的とした動的再設定の可能性があるさまざまなセンサを実装できます。IWR1443には、リファレンス・ハードウェア設計、サンプル構成、APIガイド、トレーニング、ユーザー・ドキュメンテーションが含まれています。
特徴
- FMCWトランシーバ
- 統合PLL、トランスミッタ、レシーバ、ベースバンド、A2D
- 4GHz連続帯域幅での76~81GHzのカバレッジ
- 4つの受信チャンネル
- 3つの送信チャンネル(2チャンネルを同時に使用可能)
- フラクショナルN PLLに基づいた超精密チップ・エンジン
- TX電力: 12dBm
- RXノイズ指数:
- 14dB (76~77GHz)
- 15dB (77~81GHz)
- 1MHzでの位相ノイズ:
- –95dBc/Hz (76~77GHz)
- –93dBc/Hz (77~81GHz)
- 組み込みユーザー・アプリケーション用オンチップ・プログラマブル・コア
- 200MHzでクロックされる統合Cortex®-R4Fマイクロコントローラ
- オンチップ・ブートローダは、自律モード(QSPIフラッシュメモリからユーザアプリケーションを読み込む)をサポート
- 統合周辺機器
- ECC付き内部メモリ
- レーダー・ハードウェア・アクセラレータ(FFT、対数計算など)
- 統合タイマ(ウォッチ・ドッグと最大4個の32ビットあるいは2個の64ビット・タイマ)
- I2C(マスタおよびスレーブ・モード対応)
- 2つのSPIポート
- CANポート
- 最大6個の汎用ADCポート
- 分散型アプリケーションをサポートするための高速データ・インターフェイス
- 内蔵キャリブレーションとセルフテスト機能
- ARM® Cortex®-R4Fベースの無線制御システム
- 内蔵ファームウェア(ROM)
- 周波数と温度全体での自動調整システム
- ホストインターフェイス
- SPIを介した外部プロセッサを用いた制御インターフェイス
- MIPI D-PHYおよびCSI2 V1.1からの外部プロセッサが活用されたデータ・インターフェイス
- 障害報告用の割り込み
- IWR1443の高度機能
- ホストプロセッサの介在が不要な組み込みセルフモニタリング
- 複雑なベースバンドアーキテクチャ
- 組み込み干渉検出機能
- 電源管理
- 強化PSRR向け内蔵LDOネットワーク
- デュアル電圧3.3V/1.8VをI/Oがサポート
- クロックソース
- 40MHzでの外部発振器をサポート
- 40MHzでの外部駆動クロック(正方形/正弦)をサポート
- 簡単なハードウェア設計
- 簡単な組立と低コストPCB設計を目的とした0.65mmピッチ、161ピン10.4mm × 10.4mmフリップチップBGAパッケージ
- 小型ソリューションサイズ
- 動作条件
- 接合部温度範囲: –40°C~105°C
アプリケーション
- 範囲、速度、角度測定用の工業センサ
- タンクのレベルプローブレーダー
- 変位センサ
- フィールドトランスミッタ
- トラフィック監視
- 近接および位置決めセンシング
- 警備/防犯装置
- ファクトリオートメーション
- 安全ガード
ブロック図
公開: 2018-12-17
| 更新済み: 2024-09-16
