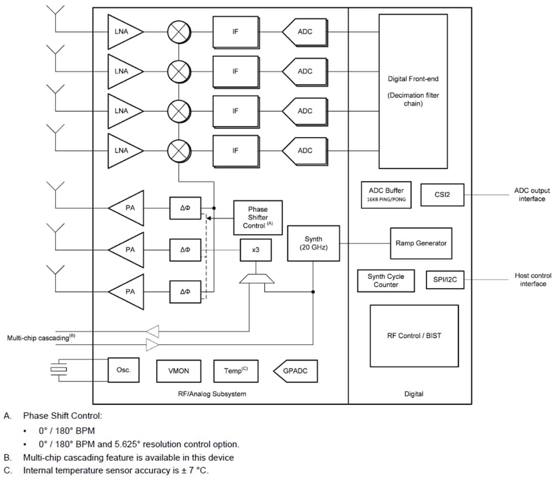
IWR6243は、レーダーセンサの実装を簡素化する内蔵型FMCWトランシーバシングルチップソリューションです。これは、TIの低電力45nm RFCMOSプロセスに基づいて構築されており、ADCコンバータとPLLを内蔵した3TX、4RXシステムのモノリシック実装を可能にします。簡単なプログラミング モデルの変更により、さまざまなセンサ実装 (ショート、ミッド、ロング) が可能になり、マルチモード センサを実装するための動的再構成が可能になります。
特徴
- FMCWトランシーバ
- PLL、トランスミッタ、レシーバ、ベースバンド、ADC を内蔵
- 7GHzで使用可能な帯域幅での57GHz〜64GHzのカバレッジ
- 4つの受信チャンネル
- 3つの送信チャンネル
- TX ビームフォーミング用の6ビット位相シフタに対応
- フラクショナルN PLLに基づいた超精密チップ・エンジン
- 12dBm TX 電力
- 10dB RX 雑音指数
- 1MHzの位相ノイズ
- -93dBc/Hz
- 内蔵キャリブレーションとセルフテスト機能
- 周波数と温度全体での自動調整システム
- ホストインターフェイス
- SPIまたはI2Cインターフェイスにより外部プロセッサと通信可能な制御インターフェイス
- MIPI D-PHY、CSI2 v1.1、LVDS (デバッグ用のみ) を介した外部プロセッサを活用したデータインターフェイス
- 障害報告用の割り込み
- 機能安全に準拠
- 機能安全アプリケーション用に開発済
- SIL3までのIEC61508機能安全システムの設計に役立つ文書を利用可
- SIL-2でのハードウェア整合性
- 安全関連認定
- IEC61508はTUV SUDによってSIL2まで認定されています
- IWR6243の高度機能
- ホストプロセッサの介在が制限された組み込み自己監視
- 複雑なベースバンドアーキテクチャ
- チャネル数を増加させるための複数デバイスのカスケード接続のオプション
- 組み込み干渉検出機能
- 電源管理
- 強化PSRR向け内蔵LDOネットワーク
- デュアル電圧3.3V/1.8VをI/Oがサポート
- クロック源
- 40MHzでの外部駆動クロック(正方形/正弦)をサポート
- 40MHzクリスタルと負荷コンデンサとの接続に対応
- 簡単なハードウェア設計
- 10.65mmピッチ、161 ピン10.4mm×10.4mmフリップチップ BGAパッケージにより、簡単な組み立てと低コストの PCB 設計を実現
- 小型ソリューションサイズ
- 動作条件
- ジャンクション温度範囲:–40°C~105°C
アプリケーション
- 範囲、速度、角度測定用の工業センサ
- ビルオートメーション
- 変位センシング
- ジェスチャー認識
- ロボット工学
- トラフィック監視
- 近接および位置決めセンシング
- 警備/防犯装置
- 工場オートメーション安全ガード
- 人数カウント
- モーション検出
- 占有検出
機能ブロック図
公開: 2024-01-19
| 更新済み: 2024-02-15

