Texas Instruments LMG3626 700V 220mΩ GaN FET
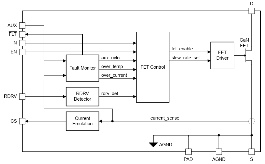
Texas Instruments LMG3626 700V 220mΩ GaN FETは、スイッチモード電源(SMPS)アプリケーションでの使用を目的に設計されています。このIC は、コンバータ軽負荷効率要件とバーストモード動作に対応しており、自己消費電流が小さく高速起動時間が備わっています。LMG3626の特徴には、ゲートドライバ、保護、電流センシングが組み合わされています。このGaN FET保護機能には、低電圧ロックアウト(UVLO)、サイクル・バイ・サイクル電流制限、過温度保護があります。LMG3626 GaN FETは、オフライン電力スイッチングアプリケーションで発生する高電圧をサポートしています。GaN FETは、8mm x 5.3mm QFNパッケージで販売されており、熱パッドが備わっています。LMG3626は、AC/DCアダプタと充電器、モバイル壁充電器設計、USB壁コンセント、補助電源、TV用SMPS電源、LED電源に最適です。特徴
- 700V、220mΩ GaNパワーFET
- 低伝搬遅延および調整可能なターンオンスルーレート制御が備わった統合ゲートドライバ
- 高帯域幅、高精度の電流検出エミュレーション
- サイクル毎の過電流保護
- FLTピン通知付きの過熱保護
- AUX 静止電流:240μA
- 50μA AUXスタンバイ自己消費電流
- 26V最高供給および入力ロジックピン電圧
- 動作温度範囲: -40°C~125°C
- 8mm x 5.3mm QFNパッケージ(サーマルパッド付)
アプリケーション
- AC/DCアダプタと充電器
- モバイル壁かけ充電器設計
- USB壁コンセント
- Auxiliary-power電源
- SMPS電源(TV用)
- LED電源
ブロック図
公開: 2025-09-19
| 更新済み: 2025-09-30
