Texas Instruments LMH12x9 12G SDIケーブル・イコライザ
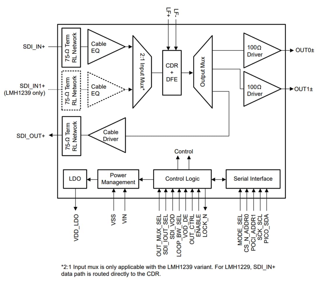
Texas Instruments LMH12x9 12G SDIケーブル・イコライザは、長距離対応の適応型ケーブル・イコライザであり、リクロッカ、デュアル出力、75Ωループスルー出力を内蔵しています。このデバイスは、75Ωの同軸ケーブル経由で伝送するデータをイコライジング(平衡化)する設計を採用しており、125Mbps~11.88GbpsのSMPTEデータ・レートで動作します。4K/8Kビデオ・アプリケーションで12G-SDI(11.88Gbps)を使用する場合、SDI入力に実装した適応型イコライザは、最大100mのBelden 1694Aのケーブル到達距離にわたって自動損失補償を行うことができます。オンチップのリクロッカは高周波ジッタを減衰させ、クリーンで低ジッタのクロックを使用して、データを全面的に再生成します。CDRループ帯域幅を削減するために、オプションの外付けコンデンサを使用してリクロッカのループ・フィルタを調整できます。LMH12x9は、配線の簡素化とデバッグ目的で、VODおよびディエンファシス制御付きの2つの100Ωファンアウトと、1つの75ΩループスルーSDI出力で構成された1:3出力マルチプレクサを備えています。75Ωループスルー出力は、信号の到達範囲を拡大し、またはシステムレベルの診断を可能にするために備わっています。LMH12x9は、すべてのデータ速度にわたる厳格なSMPTE仕様を満たすリターン・ロス・ネットワークを内蔵しています。また、LMH12x9は、システムの診断とボードの立ち上げをサポートするために、内部アイ開口モニタと、CDRロック表示、入力搬送波検出、ケーブル障害検出、ハードウェア割り込み用のプログラム可能ピンも備えています。
ケーブル・イコライザ・アプリケーションで使用する場合、LMH1229はLMH1297(リクロッカ内蔵12G UHD-SDI双方向I/O)とピン互換です。システムレベルの冗長性のため、LMH1239は追加のSDI入力マルチプレクサを1つ内蔵しています。
特徴
- リクロカーが統合されたアダプティブ・ケーブル・イコライザー
- ST-2082-1 (12G)、ST-2081-1 (6G)、ST-424 (3G)、 ST-292 (HD)、ST-259 (SD) をサポート
- DVB-ASIおよびAES10 (MADI) と互換
- リファレンスレス・リクロッカを内蔵し、以下のSMPTEレートをロック可能:11.88Gbps、5.94Gbps、2.97Gbps、1.485Gbps、divide-by-1.001サブレート270Mbps
- 代表的なケーブルの到達範囲 (Belden 1694A)、PRBS-9パターン:
- 11.88Gbps (4Kp60 UHD) で100m
- 5.94Gbps (UHD) で150m
- 2.97Gbps (FHD) で220m
- 1.485Gbps (HD) で300m
- 270Mbps (SD) で600m
- 代表的なケーブルの到達範囲 (Belden 1694A)、病理的パターン
- 11.88Gbps (4Kp60 UHD) で90m
- 5.94Gbps (UHD) で140m
- 2.97Gbps (FHD) で220m
- 1.485Gbps (HD) で300m
- 270Mbps (SD) で600m
- オンチップの75Ω終端およびリターン損失補償ネットワーク
- 入力ケーブル・イコライザおよびリクロッカの特長:
- ストレス・パターンによるケーブル到達距離の延長
- プログラム可能なCDRループ帯域幅設定
- 2:1 75Ω入力マルチプレクサ(LMH1239のみ)
- 出力ドライバの特長:
- ディエンファシス付き1:2 100Ωファンアウト出力
- ケーブル障害検出を備えた、リクロック付き75Ωル ープスルー出力(最大600m)
- PRBS ジェネレータ、チェッカを内蔵
- アイ開口モニタを内蔵
- 2.5V単電源
- 低消費電力:350mW(標準値)
- パワー・セーブ・モード:70mW
- 制御ピン、SPI、SMBusインターフェイスにより構成可能
- 5mm × 5mm、32ピンWQFNパッケージ
- 動作温度範囲: –40°C~+85°C
アプリケーション
- SMPTE互換のシリアル・デジタル・インターフェイス
- 放送用ビデオ・ルーター、スイッチャ、分配アンプ、モニタ
- UHDTV/4K/8K/HDTV/SDTVビデオ
- デジタル・ビデオ処理および編集
ビデオ
機能ブロック図
公開: 2024-12-09
| 更新済み: 2025-01-05
