統合同期ブーストコンバータは、優れた効率性を維持し、広い動作電圧範囲全体でLEDの輝度を安定的に維持します。出力電圧は、0.1Vステップで3V ~ 5.5Vの異なるLED順方向電圧向けに選択できます。昇圧コンバータは、システム内のLEDおよびその他の負荷に電力を供給できます。昇圧コンバータをバイパスする必要がある場合、VOUT はLEDドライバブロックの電源入力として使用されます。
12個のLEDドットを個別に制御するために4つの出力PINSを使用するタイムクロスマルチプレクシング(TCM)構造が採用されています。ハイサイドスキャンスイッチとローサイド電流シンクは、1つの出力に含まれています。スペースに制約のあるシステム向けにトータルソリューションサイズが最小限に抑えられています。
自律アニメーションエンジンは、コントローラのリアルタイム負荷を大幅に低減できます。各LEDは、関連レジスタを介して構成し、鮮明で美しい照明効果を実現できます。Texas Instruments LP5813は、6MHzクロック信号を生成し、複数のデバイス間で照明効果を同期できます。
特徴
- 動作電圧範囲:
- 0.5V~5.5V入力電圧(VIN)範囲
- 1.8V最小入力電圧(起動用)
- 1.8V、3.3V、5Vとの互換性があるロジックピン
- 高効率同期ブーストコンバータ
- 3Vto5.5V出力電圧(VOUT)範囲
- 140mΩ (HS) /60mΩ (LS) MOSFET
- 1.6Aバレースイッチング電流制限
- 95%VIN =4.2V, VOUT =5.0V, IOUT = での効率300mA
- VIN > VOUT 設定時のパススルーモード
- シャットダウン時の入力と出力の間の真の切断
- 時間クロス多重 (TCM) トポロジ
- 最大12個のLEDまたは4個のRGB LEDを駆動
- 1/4、1/3、1/2、1多重化率
- ダイレクト、TCM、混合駆動モードをサポート
- 高精度の4つの定電流シンク
- 電流シンクあたり0.1mA ~ 51mA
- 最大±5%のデバイス対デバイス誤差
- 最大±5%のチャンネル間誤差
- 25.5mAで超低ヘッドルーム電圧110mV(標準)、 51mAで210mV(標準)
- 各LEDごとに設定可能なPWM位相シフト
- 超低消費電力
- シャットダウン: ISD =0.1µA(標準) EN = Low時
- スタンバイ: ISTB =26µA(標準)EN = High および CHIP_EN =0(データ保持)時
- アクティブ: INOR =0.45mA(代表値) LED電流 =25.5mA
- アナログ調光(電流ゲイン制御)
- グローバル1ビット最大電流(MC): 25.5mAまたは51mA
- 個々の8ビットドット電流(DC) 設定
- 可聴ノイズフリー24kHzまでのPWM調光
- 個々の8ビットPWM調光分解能
- 線形または指数調光曲線
- 自律アニメーションエンジン制御
- 個別のLEDドットオープン/ショート検出
- 統合デゴースト機能
- 1MHz(最大)I2Cインタフェイス
- 動作温度範囲: –40°C~85°C
アプリケーション
- LEDアニメーションと表示:
- ポータブルおよびウェアラブル電子機器-イヤホンと充電ケース、電子タバコ、スマートウォッチ
- ゲームとホームエンターテイメント-スマートスピーカ、RGBマウス、VRヘッドセットとコントローラ
- モノのインターネット(IoT) - 電子タグ、ビデオドアベル
- ネットワーキング-ルーター、アクセスポイント
- 産業用HMI – EV充電器、工場オートメーション
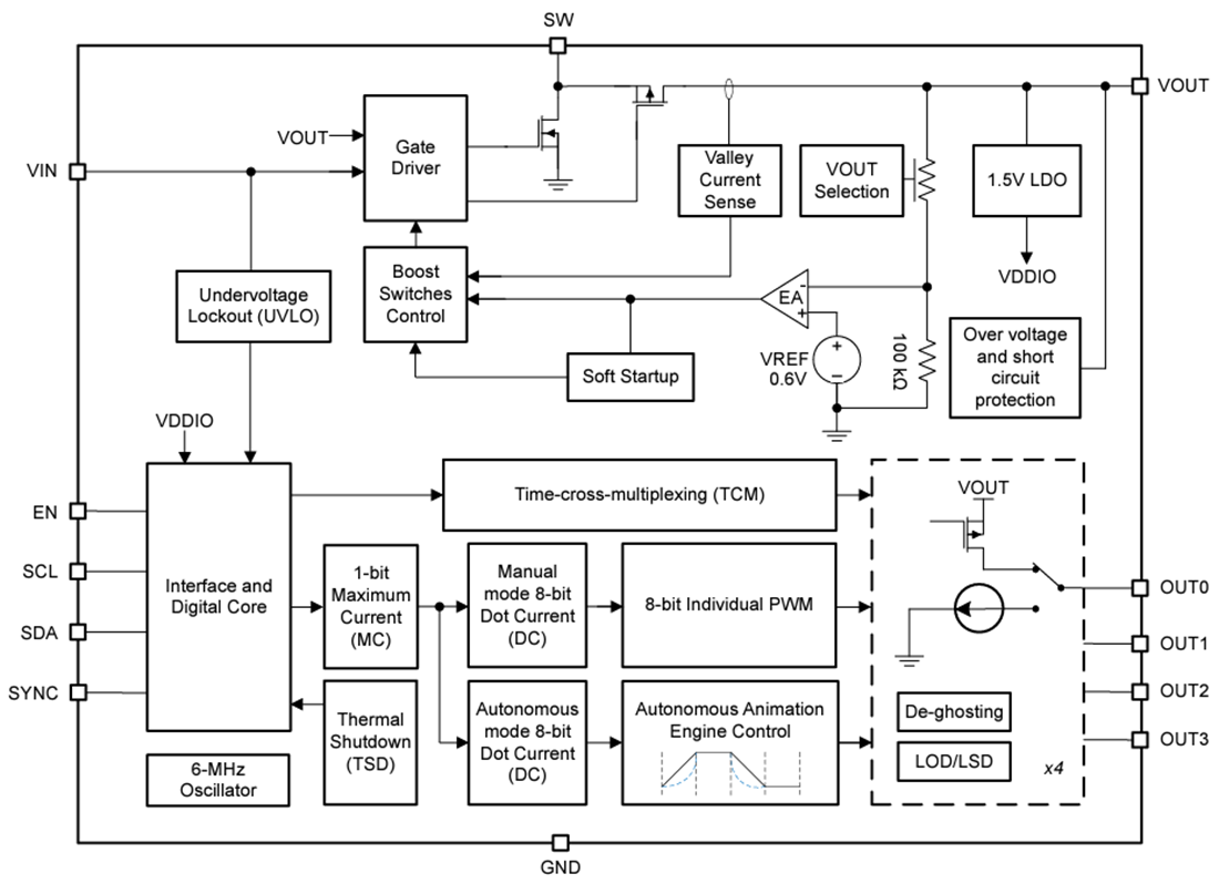
機能ブロック図
公開: 2023-12-11
| 更新済み: 2024-06-07

