Texas Instruments LP87322E/F-Q1パワーマネジメントIC(PMIC)
Texas Instruments LP87322E/F-Q1パワー・マネジメントIC(PMIC)は、車載用カメラおよびレーダーアプリケーションにおける最新プロセッサおよびプラットフォームのパワー・マネジメント要件を満たすように設計されています。このPMICには、2つの降圧型DC-DCコンバータと2つのリニアレギュレータが備わっており、汎用デジタル出力信号を実現しています。デバイスは、I2C互換シリアルインターフェースとイネーブル信号によって制御されています。自動PWM-PFM(AUTOモード)動作は、広い出力電流範囲にわたって効率を最大化します。LP87322E/F-Q1は、レギュレータ出力とポイントオブロード(POL)の間のIRドロップを補償するためのリモート電圧検出に対応しており、出力電圧の精度が向上しています。さらに、スイッチングクロックは、強制的にPWMモードにでき、外部クロックに同期させることにより妨害を最小限に抑えています。The automatic PWM/PFM (AUTO mode) operation gives high efficiency over a wide output current range. The Texas Instruments LP87322E/F-Q1 supports remote voltage sensing to compensate for IR drop between the regulator output and the point-of-load (POL), thus improving the accuracy of the output voltage. In addition, the switching clock can be forced to PWM mode and synchronized to an external clock to minimize the disturbances.
特徴
- AEC-Q100で品質評価済み、結果は以下のとおりです。
- デバイス温度グレード1: –40°C~125°Cの動作周囲温度
- 入力電圧範囲: 2.8V~5.5V
- 2つの高効率降圧DC-DCコンバータ
- 出力電圧: 0.7V~3.36V
- 最大出力電流2A
- プログラマブル出力電圧スルーレート0.5mV/µs~10mV/µs
- 2MHzのスイッチング周波数
- EMI低減のためのスペクトラム拡散モードおよび位相インターリーブ
- リニアレギュレータ2台
- 入力電圧範囲: 2.5V~5.5V
- 出力電圧: 0.8V~3.3V
- 最大出力電流300mA
- 構成可能な版票出力信号(GPO、GPO2)
- プログラマブル・マスキング搭載割り込み機能
- プログラマブル・パワーグッド信号(PGOOD)
- 出力短絡および過負荷保護
- 過熱の警告と保護
- 過電圧保護(OVP)および不足電圧ロックアウト(UVLO)
- ウェッタブルフランク付き28ピン、5mm×5mm VQFNパッケージ
アプリケーション
- 車載用ヘッドユニットとクラスタ
- 車載用カメラモジュール
- サラウンドビュー・システムECU
- レーダーシステムECU
- 車載用ディスプレイ
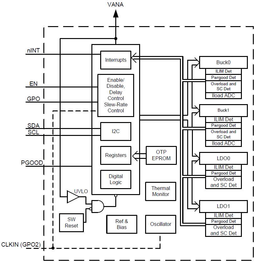
機能ブロック図
公開: 2018-04-16
| 更新済み: 2022-12-01
