Texas Instruments LP87334ERHDRデュアル降圧コンバータとレギュレータ
Texas Instruments LP87334ERHDRデュアル降圧コンバータとレギュレータは、産業用アプリケーションの電源管理要件を満たすよう設計されています。このデバイスは、2つの降圧DC/DC コンバータ (1つのデュアル位相レギュレータまたは2つのシングル位相レギュレータとして構成可能)、2つのリニア・レギュレータ、2つの汎用デジタル出力信号を備えています。LP87334ERHDRデュアル大電流降圧コンバータとデュアル・リニア・レギュレータは、I²C互換のシリアル・インターフェイスとイネーブル信号により制御されます。この降圧コンバータは、イネーブル信号に同期した GPO信号を含む、プログラム可能な起動およびシャットダウンの遅延とシーケンスをサポートします。LP87334ERHDRレギュレータは、出力短絡と過負荷保護、過熱警告と保護、過電圧保護 (OVP)、低電圧誤動作防止 (UVLO) 機能を備えています。このレギュレータは、試験や測定機器といった産業用アプリケーションに適しています。特徴
- 2つの高効率降圧DC/DCコンバータ
- 出力電圧 0.7V~3.36V
- 最大出力電流: 3A
- プログラマブル出力電圧スルーレート: 0.5mV/µs~10mV/µs
- 2MHzのスイッチング周波数
- EMI低減のためのスペクトラム拡散モードおよび位相インターリーブ
- 2つのリニア・レギュレータ:
- 入力電圧2.5V~5.5V
- 0.8V~3.3V出力電圧
- 最大出力電流: 300mA
- 入力電圧範囲2.8V~5.5V
- 汎用出力信号 (GPO、GPO2)を構成可能
- プログラム可能なマスキングを備えた割り込み機能
- プログラム可能なパワー・グッド信号 (PGOOD)
- 出力短絡および過負荷保護
- 過熱の警告と保護
- 過電圧保護 (OVP) および低電圧誤動作防止 (UVLO)
- 28 ピン、5mm × 5mmのウェッタブル・フランク付きVQFNパッケージ
アプリケーション
- 産業用機器
- テストと測定
- 産業用アプリケーション
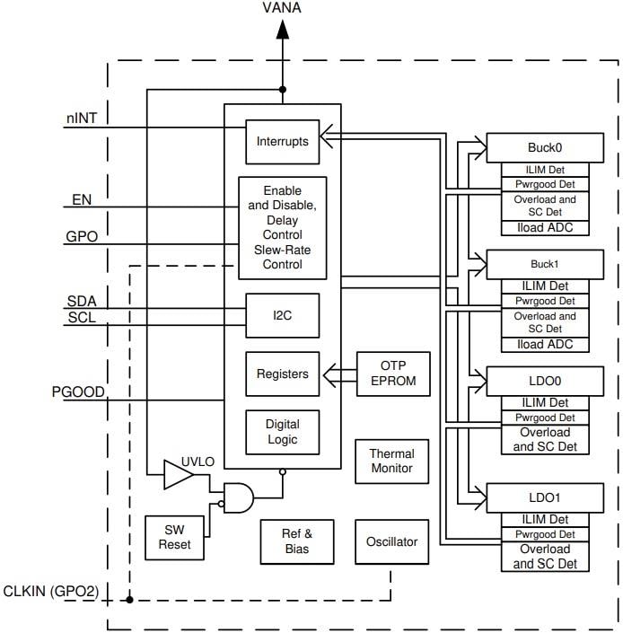
機能ブロック図
回路図
公開: 2024-01-09
| 更新済み: 2024-01-18
