特徴
- 車載アプリケーション向けに品質評価済み
- AEC-Q100で品質評価済み、結果は以下のとおりです。
- デバイス温度グレード1: –40°C~125°Cの動作周囲温度
- デバイスHBM ESD分類レベル2
- デバイスCDM ESD分類レベルC4B
- 入力電圧範囲: 2.8V~5.5V
- 出力電圧: 0.6V~3.36V
- 高効率降圧DC/DCコンバータ・コア 4個
- 最大出力電流: 16A(位相あたり4A)
- プログラマブル出力電圧スルーレート: 0.5mV/µs~10mV/µs
- スイッチング周波数: 2MHz
- スペクトラム拡散モードおよび位相インターリーブ
- 構成可能な汎用I/O (GPIO)
- I2C互換インターフェイスで、標準(100kHz)、高速(400kHz)、高速+(1MHz)、超高速(3.4MHz)モードをサポート
- プログラマブル・マスキング搭載割り込み機能
- プログラマブル・パワーグッド信号(PGOOD)
- 出力短絡および過負荷保護
- 過熱の警告と保護
- 過電圧保護(OVP)および低電圧ロックアウト(UVLO)
アプリケーション
- 車載用インフォテインメント、クラスタ、レーダー、カメラ電源アプリケーション
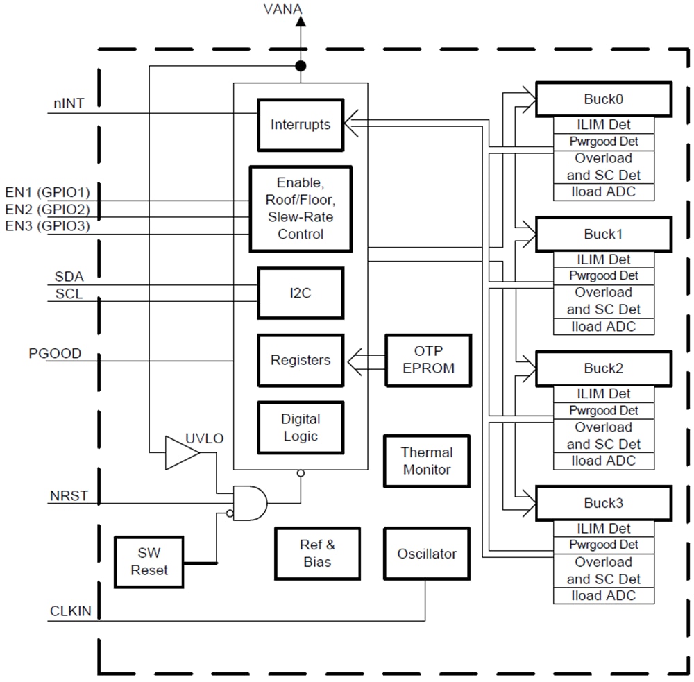
機能ブロック図
公開: 2018-08-23
| 更新済み: 2025-03-10

