Texas Instruments LP8758-EA Four 4A出力降圧DC/DCコンバータ
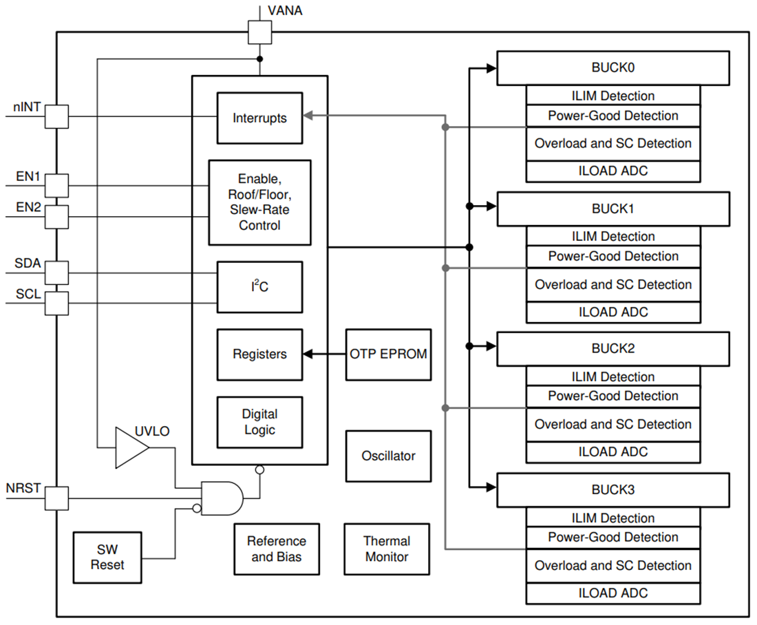
Texas Instruments LP8758-EA Four 4A出力降圧DC/DCコンバータは、携帯電話、ネットワークカード、類似アプリケーションでの低消費電力プロセッサのパワーマネジメント要件に適合するように設計されています。デバイスには、4つの降圧型DC-DCコンバータコアが搭載されており、4つの出力電圧レールを実現しています。デバイスは、I2C互換シリアルインターフェイスで制御されています。自動PWM-PFM(AUTOモード)動作は、広い出力電流範囲にわたって効率を最大化します。LP8758-EAは、ハードウェアイネーブル入力信号に同期化されるプログラマブルスタートアップおよびシャットダウンシーケンシングをサポートしています。この保護機能には、短回路保護、電流制限、入力供給UVLO、温度警告、シャットダウン機能が含まれています。デバイスのステータス情報に複数のエラーフラグが使用されています。それに加えて、Texas Instruments LP8758-EAは、外付け電流センス抵抗器を必要としない負荷電流計測をサポートしています。起動時および電圧チャンネル時に、このデバイスは、出力スキュー・レートを制御し、出力電圧オーバーシュートと突入電流を最小限に抑えます。
特徴
- 完全集積型クワッドバック、最大出力電流を1バックあたり最大4Aまでプログラミング可
- 自動PWM-PFM動作、強制PWM動作
- プログラマブル出力電圧スルーレギュレータと30mV/μs~0.5mV/μs
- 入力電圧範囲: 2.5V~5.5V
- VOUT範囲(DVSで0.5V~3.36V)
- プログラマブル・スタートアップおよびシャットダウン遅延ならびにシーケンシング(イネーブル信号搭載)
- 標準 (100kHz)、高速 (400kHz)、高速+ (1MHz)、超高速 (3.4MHz) モードをサポートしているI2C互換インターフェイス
- プログラマブル・マスキング搭載割り込み機能
- 負荷電流の計測
- 出力短絡および過負荷保護
- EMI低減のための拡散スペクトラム
- 4つのバックコアは90°位相外で動作し、これによって入力リップル電流を小さく抑える
- 温度過昇の警告と保護
- 低電圧ロックアウト(UVLO)機能
アプリケーション
- 光学モジュール
- ドローンシステム
- スマートフォン、電子書籍、タブレット
- ソリッドステートデバイス
機能ブロック図
公開: 2021-06-03
| 更新済み: 2022-10-27
