Texas Instruments LP87702-Q1デュアル・バック・コンバータ
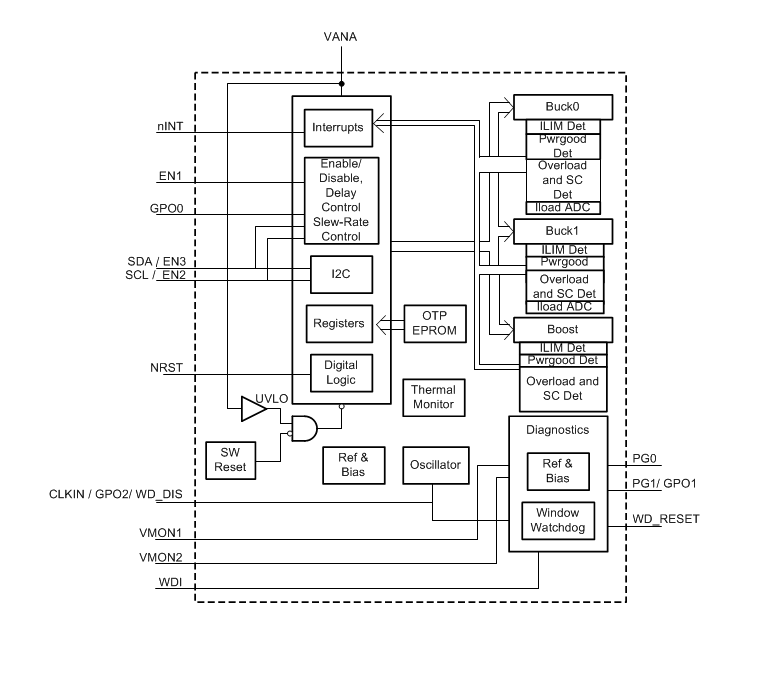
Texas Instruments LP87702-Q1デュアル・バック・コンバータは、車載用レーダー/カメラおよび産業用レーダー・アプリケーションにおいて、パワー管理プラットフォーム要件を満たすように設計されています。LP87702-Q1には、降圧DC/DCコンバータ2台、5Vブースト・コンバータ/バイパス・スイッチ、外部電源用の電圧監視入力2個、ウィンドウ・ウォッチドッグが組み合わされています。このデバイスは、I2C互換シリアル・インターフェイスおよびイネーブル信号制御によって駆動します。高い効率性は、自動PWM/PFM(AUTOモード)動作において、広い出力電流範囲全体で達成されます。LP8770は、電流計測用に特別に設計された内部回路に起因する外部レジスタの必要性を排除しています。イネーブル信号に同期している汎用デジタル出力とプログラマブル・スタートアップ/シャットダウン・シーケンスは、どちらもデバイスによってサポートされています。LP87702-Q1は、車載用アプリケーションを対象としたAEC-Q100認定を受けています。特徴
- 車載アプリケーション向けAEC-Q100認定:
- デバイスの温度グレード1: –40°C~+125°C、TA
- 高効率降圧DC/DCコンバータ2台
- 最大出力電流: 3.5A
- 2MHz、3MHz、または4MHzスイッチング周波数
- 自動PWM/PFMおよび強制PWM動作
- 出力電圧= 0.7V~3.36V
- 5Vブーストコンバータ(バイパスモード・オプションあり):
- 最大出力電流: 600mA
- 外部電圧監視用の2つの入力
- プログラマブル・マスキング搭載割り込み機能
- 出力短絡および過負荷保護
- 過熱の警告と保護
- プログラマブル・パワーグッド信号2個
- 診断用の専用リファレンス電圧
- リセット出力搭載ウィンドウ・ウォッチドッグ
- スイッチングを同期させるための外部クロック入力
- スペクトラム拡散変調
- プログラマブル・スタートアップおよびシャットダウン遅延ならびにシーケンシング(イネーブル信号搭載)
- コンフィギャラブル汎用出力(GPO)
- I2C互換インターフェイスで、標準(100kHz)、高速(400kHz)、高速+(1MHz)、超高速(3.4MHz)モードをサポート
- 過電圧保護(OVP)および低電圧ロックアウト(UVLO)
アプリケーション
- 車載用レーダー
- 車載カメラ
- 車載用センサフュージョン
- 産業用レーダー
- ビルオートメーション
Datasheets
ブロック図
公開: 2018-08-24
| 更新済み: 2024-01-29
