Texas Instruments MSP430F21x216ビット超低消費電力MCU
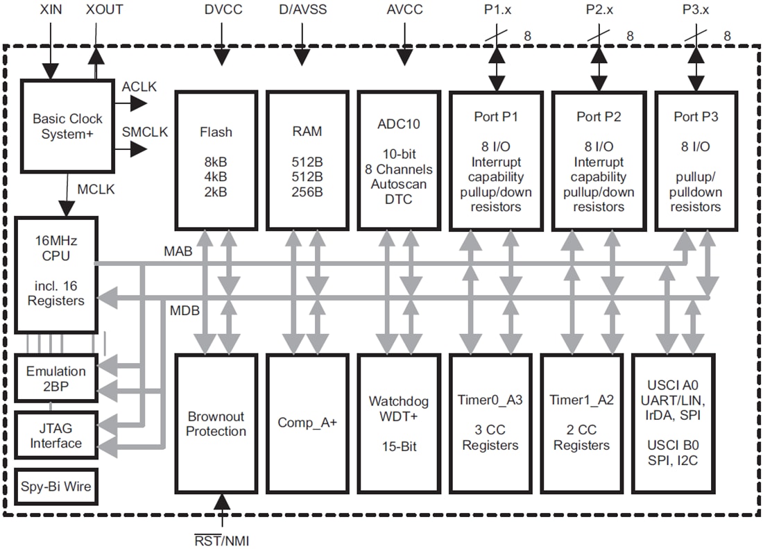
Texas Instruments MSP430F21x2 16ビット超低消費電力マイクロコントローラ(MCU)は、MSP430ファミリのマイクロコントローラの一部です。これらのMCUには、5つの低消費電力モードと組み合わされたアーキテクチャがありお、ポータブル計測アプリケーションでの拡張バッテリ寿命を達成するように最適化されています。このデバイスは、強力な16ビットRISC CPU、16ビットレジスタ、および最大コード効率に貢献するコンスタントジェネレータが特徴です。デジタル制御発振器(DCO)を使用すると、1μs未満で低消費電力モードからアクティブモードへの起動が可能になります。MSP430F21x2には、内蔵の16ビット・タイマ2個、統合リファレンスとデータ転送コントローラ(DTC)が搭載された高速10ビットA/Dコンバータが装備されています。また、コンパレータ、ユニバーサル・シリアル通信インターフェイスを活用した内蔵通信機能、最高24本のI/Oピンも含まれています。MSP430F21x2-EPにはゴールドボンドワイヤ、–55~+105°Cの温度範囲が備わっており、SnPbリード仕上げが含まれています。
特徴
- 低い電源電圧範囲: 1.8V~3.6V
- 超低消費電力
- アクティブ・モード: 1MHz、2.2Vで250µA
- スタンバイ・モード: 0.7µA
- オフ・モード(RAM保持): 0.1µA
- 1µs未満でのスタンバイ・モードからの超高速ウェイクアップ
- 16ビットRISCアーキテクチャ、62.5ns命令サイクル時間
- 基本的なクロック・モジュール構成
- 内部周波数最高16MHz(±1%までの4つの較正済周波数あり)
- 内部超低消費電力・低周波数発振器
- 32KHz水晶
- 高周波(HF)水晶最高16MHz
- レゾネータ
- 外部デジタルクロックソース
- 外部レジスタ
- 3個のキャプチャ/コンペアレジスタ付属の16ビットTimer0_A3
- 16ビットTimer1_A2(キャプチャ/比較レジスタ2個搭載)
- アナログ信号比較機能またはスロープ・アナログデジタル(A/D)変換のためのオンチップ・コンパレータ
- 内部リファレンス、サンプルアンドホールド、オートスキャン、データ転送コントローラが搭載された10ビット200ksps A/Dコンバータ
- ユニバーサル・シリアル通信インターフェイス
- 自動ボーレート検出をサポートしている拡張UART
- IrDAエンコーダおよびデコーダ
- 同期SPI
- I2C™
- 電力低下検出器
- シリアル・オンボード・プログラミング、外部プログラミング電圧不要、セキュリティ・ヒューズによるプログラマブル・コード保護
- ブーストラップ・ローダー
- オンチップ・エミュレーション・モード
- ファミリのメンバ:
- MSP430F2132: 8KB + 256Bフラッシュ・メモリ、512B RAM
- MSP430F2122: 4KB + 256Bフラッシュ・メモリ、512B RAM
- MSP430F2112: 2KB + 256Bラッシュ・メモリ、256B RAM
- 28ピンTSSOP (PW) および32ピンQFN(RHBまたはRTV) パッケージでご用意あり
機能ブロック図
公開: 2019-01-25
| 更新済み: 2025-06-06
