Texas Instruments MSP430F552x/MSP430F551x混合信号MCU
Texas Instruments MSP430F552x/MSP430F551x混合信号マイクロコントローラ(MCU)は、USB 2.0をサポートする統合USBおよびPHY、ならびに4個の16ビット対応タイマで構成された超低消費電力MCUです。これらのデバイスには、高性能12ビット対応アナログ・デジタル・コンバータ(ADC)、USCI 2台、ハードウェア乗算器、DMA、RTCモジュール(アラーム機能付き)も搭載されています。MSP430F5528、MSP430F5526、MSP430F5524、MSP430F5522マイクロコントローラにはこれらすべてのペリフェラルが搭載されていますが、I/Oピンは47本です。Texas Instruments MSP430F552x/MSP430F551xは、強力な16ビットRISC CPU、16ビットレジスタ、定数ジェネレータを備えており、コード効率性の最大化に貢献します。デジタル制御発振器(DCO)により、デバイスは低電力モードからアクティブモードまで3.5µ秒(代表値)でウェイクアップできます。特徴
- 最低3.6V~1.8Vの低電源電圧範囲
- 超低消費電力
- アクティブモード(AM)
- すべてのシステムクロックがアクティブ
- 8MHzで290µA/MHz、3.0V、フラッシュプログラム実行(標準)
- 8MHzで150µA/MHz、3.0V、RAMプログラム実行(標準)
- すべてのシステムクロックがアクティブ
- スタンバイモード(LPM3)
- クリスタルを装備したリアルタイムクロック、ウォッチドッグ、電源スーパーバイザ動作、RAMデータ完全保持、高速ウェイクアップ:
- 2.2Vで1.9µA、3.0Vで2.1µA(標準)
- 低周波オシレータ(VLO)、汎用カウンタ、ウォッチドッグ、電源スーパーバイザ動作、RAMデータ完全保持、高速ウェイクアップ
- 3.0Vで1.4µA(標準)
- クリスタルを装備したリアルタイムクロック、ウォッチドッグ、電源スーパーバイザ動作、RAMデータ完全保持、高速ウェイクアップ:
- オフ・モード(LPM4)
- RAMデータ完全保持、電源スーパーバイザ動作、高速ウェイクアップ
- 3.0Vで1.1µA(標準)
- RAMデータ完全保持、電源スーパーバイザ動作、高速ウェイクアップ
- シャットダウンモード (LPM4.5)
- 3.0Vで0.18µA(標準)
- アクティブモード(AM)
- スタンバイモードから3.5µs(標準)でウェイクアップ
- 16ビットRISCアーキテクチャ、拡張メモリ、最大25MHzのシステムクロック
- 柔軟な電源管理システム
- 完全内蔵型のLDO、調整コア電源電圧のプログラミングに対応
- 電源電圧の管理、監視、電圧低下
- ユニファイドクロックシステム
- 周波数安定化のためのFLL制御ループ
- 低電力、低周波、内部クロックソース(VLO)
- 低周波数にトリムされる内部リファレンスソース(REFO)
- 32kHzウォッチ水晶(XT1)
- 最高32MHzの高周波水晶(XT2)
- 5個のキャプチャ/コンペアレジスタ付属の16ビットタイマTA0、Timer_A
- 3個のキャプチャ/コンペアレジスタ付属の16ビットタイマTA1、Timer_A
- 3個のキャプチャ/コンペアレジスタ付属の16ビットタイマTA2、Timer_A
- 7個のキャプチャ/コンペアレジスタ付属の16ビットタイマTB0、Timer_B
- 2つのユニバーサルシリアル通信インターフェイス(USCI)
- USCI_A0およびUSCI_A1を各サポート
- 自動ボーレート検出をサポートする拡張UART
- IrDAエンコーダおよびデコーダ
- 同期SPI
- USCI_B0およびUSCI_B1を各サポート
- I2C
- 同期SPI
- USCI_A0およびUSCI_A1を各サポート
- フルスピード汎用シリアルバス(USB)
- 統合USB-PHY
- 統合3.3V/1.8V USB電力システム
- 統合USB-PLL
- 8個の入力および8個の出力エンドポイント
- 内部リファレンスとサンプル・ホールド、自動スキャン機能を装備した12ビット対応ADコンバータ(ADC)(MSP430F552xのみ)
- コンパレータ
- ハードウェア乗算器は32ビットの動作をサポート
- シリアルオンボードプログラミング、外部プログラミング電圧不要
- 3チャンネル内部DMA
- 基本的なタイマ(RTC機能搭載)
アプリケーション
- アナログデジタルセンサのシステム
- データロガー
- USBホストへの接続
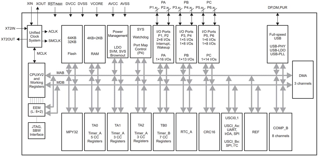
MSP430F551x PNパッケージのブロック図
MSP430F551x ZXH ZQE RGCパッケージのブロック図
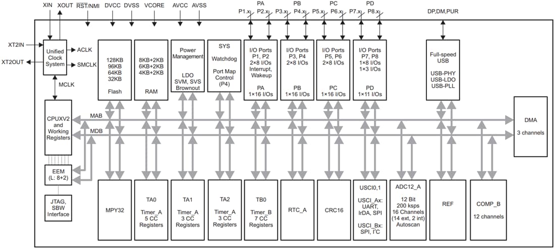
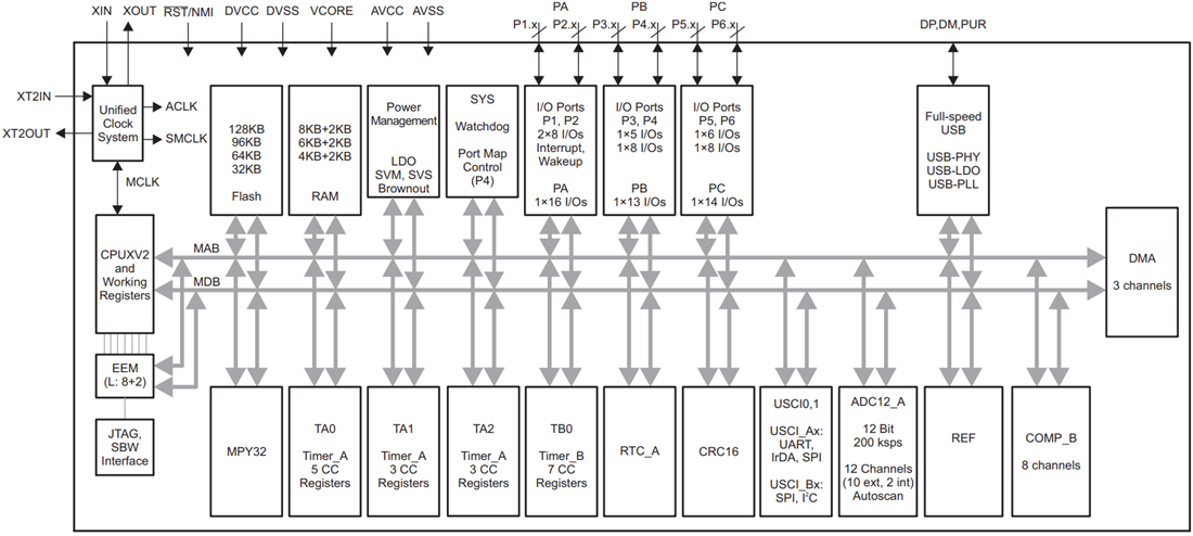
MSP430F552x PNパッケージのブロック図
MSP430F552x ZXH ZQE RGCパッケージのブロック図
公開: 2020-09-29
| 更新済み: 2025-04-16
