Texas Instruments MSP430F643x混合信号マイクロコントローラ
Texas Instruments MSP430F643x混合信号マイクロコントローラは、さまざまなアプリケーションを対象としたさまざまな一連の周辺機器を特徴とする複数のデバイスで構成されています。アーキテクチャと5つの低電力モードの組み合わせによって、ポータブル計測アプリケーションでのバッテリ寿命の延長が最適化されます。MSP430F643xは、強力な16ビットRISC CPU、16ビットレジスタ、コンスタントジェネレータが特徴で、最大コード効率に貢献します。また、MCUには、デジタル制御発振器 (DCO) も搭載されており、デバイスを低電力モードからアクティブモードへ3µs (標準)でウェイクアップさせることができます。TI MSP430F643x混合信号マイクロコントローラには、統合3.3V LDO、高性能12ビットADC、コンパレータ、2つのUSCI、ハードウェア乗算器、DMA、4つの16ビットタイマ、アラーム機能付きRTCモジュール、LCDドライバ、最大74本のI/Oピンがあります。
特徴
- 1.8V~3.6Vの低供給電圧範囲
- 超低消費電力
- アクティブモード(AM):
- 8MHzで270µA/MHz 、3.0V、フラッシュプログラム実行(標準)ですべてのシステムクロック有効
- スタンバイ・モード(LPM3):
- クリスタルと電源監視Watchdog、完全RAM保持、2.2Vで1.8µA、3.0Vで2.1µA (標準)の高速ウェイクアップ
- シャットダウン・リアルタイム・クロック(RTC)モード(LPM3.5) 1.1µA @ 3.0V (標準)シャットダウンモード、クリスタル搭載アクティブRTC
- 3.0V(標準)シャットダウンモード(LPM4.5)で0.3µA
- アクティブモード(AM):
- スタンバイモードから3µs(標準)でウェイクアップ
- 16ビットRISCアーキテクチャ、拡張メモリ、最大20MHzのシステムクロック
- 柔軟な電源管理システム
- 完全内蔵型のLDO、調整コア電源電圧のプログラミングに対応
- 電源電圧の管理、監視、電圧低下
- ユニファイドクロックシステム
- 周波数安定化のためのFLL制御ループ
- 低電力、低周波、内部クロックソース(VLO)
- 低周波数でトリミングされた内部リファレンスソース(REFO)
- 32kHz水晶 (XT1)
- 最高32MHzの高周波クリスタル(XT2)
- 3、5、または7個のキャプチャ/コンペアレジスタ付属4つの16ビットタイマー
- 2つのユニバーサルシリアル通信インターフェイス(USCI)
- USCI_A0およびUSCI_A1はそれぞれサポート-自動ボーレート検出、IrDAエンコーダとデコーダ、同期SPIをサポートする拡張UART
- USCI_B0およびUSCI_B1は、それぞれI2Cおよび同期SPIをサポート
- 集積3.3V電力システム
- 内部共有リファレンス、サンプル・アンド・ホールド、自動スキャン機能が搭載された12ビット対応アナログ・デジタル・コンバータ (ADC)
- 同期機能付きデュアル12ビットデジタル・アナログコンバータ (DAC)
- 電圧コンパレータ
- 最大160セグメントを対象としたコントラスト制御を備えた集積液晶ディスプレイLCDドライバ
- ハードウェア乗算器は32ビットの動作をサポート
- シリアルオンボードプログラミング、外部プログラミング電圧不要
- 6チャンネル内部DMA
- RTCモジュール(供給電圧バックアップスイッチ搭載)
アプリケーション
- アナログデジタルセンサのシステム
- デジタルモータ制御
- リモコン
- サーモスタット
- デジタルタイマー
- 携帯メータ
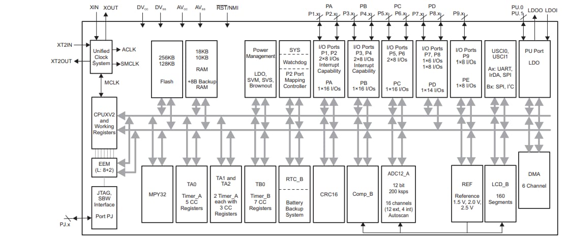
MSP430F6433/35ブロック図
MSP430F6436/38ブロック図
公開: 2020-10-20
| 更新済み: 2025-04-16
