Texas Instruments MSP430FR215x / MSP430FR235xマイクロコントローラ
Texas Instruments MSP430FR215x / MSP430FR235xマイクロコントローラ(MCU)は、超低消費電力、低コストのデバイスで、センシングと計測アプリケーションを対象としています。MSP430FR235x MCUには、スマート・アナログ・コンボと呼ばれる4つの構成可能なシグナルチェーン・モジュールが統合されており、それぞれ12ビットDACまたは構成可能なプログラマブルゲイン・オペアンプとして使用できます。これらを使用して、BOMとPCBサイズを削減しながら、システムの特定のニーズを満たすことができます。また、このデバイスには、12ビットのSAR ADCおよび2つのコンパレータも備わっています。MSP430FR215xおよびMSP430FR235x MCUは、-40°〜105°Cの拡張温度範囲をサポートしています。これによって、FRAMデータロギング機能のメリットを享受できるさらなる高温の産業用アプリケーションでの使用が可能になります。拡張温度範囲によって、煙感知器、センサ送信機、回路ブレーカなどのアプリケーションの要件を満たすことができます。
特徴
- 組込みマイクロコントローラ
- 最大24MHzまでの16ビット対応RISCアーキテクチャ
- 拡張温度-40°C~105°C
- 幅広い電源電圧範囲:3.8V~最低1.8V
- (3Vで)最適化された低消費電力モード
- アクティブ・モード: 142µA/MHz
- スタンバイ
- 32768Hz水晶付きLPM3: 1.43µA(SVS対応)
- 32768HZ水晶付きLPM3.5: 620nA(SVS対応)
- シャットダウン (LPM4.5): 42nA (SVS無効時)
- 低消費電力Ferroelectric RAM(FRAM)
- 最大32KBの不揮発性メモリ
- 内蔵エラー補正コード(ECC)
- 構成可能な書き込み保護
- 一元化されたプログラム、定数、およびストレージ
- 1015回の書き換えサイクル耐久性
- 耐放射線性および非磁性
- 使いやすい
- 20KB ROMライブラリには、ドライバ・ライブラリとFFTライブラリを含む
- 高性能アナログ
- 1つの12チャンネル12ビットADコンバータ (ADC)
- 2つの強化されたコンパレータ(eCOMP)
- 4つのスマート・アナログ・コンボ(SAC-L3)(MSP430FR235xデバイスのみ)
- インテリジェントなデジタル周辺機器
- それぞれ3つの収集/比較レジスタを備えた3つの16ビットタイマ(Timer_B3)
- 7つの各キャプチャ/比較レジスタ(Timer_B7)が搭載された16ビットタイマ1個
- 16ビットカウンタ専用リアルタイム・クロック(RTC)カウンタ1個
- 16ビット対応巡回冗長検査(CRC)
- ネストされたハードウェア割り込みを実現できる割り込み比較コントローラ(ICC)
- 32ビット対応ハードウエアマルチプレーヤ(MPY32)
- マンチェスター・コーデック(MFM)
- 更に強化したシリアル通信
- 2つの強化されたUSCI_A (eUSCI_A) モジュールによって、UART、IrDA、SPIをサポート
- 2つの強化されたUSCI_B(eUSCI_B)モジュールが、SPIおよびI2Cをサポート
- クロックシステム(CS)
- 一般的な入力/出力およびピン機能
- パッケージオプション
- 48ピン: LQFP (PT)
- 40ピン: VQFN (RHA)
- 38ピン: TSSOP (DBT)
アプリケーション
- 煙熱感知器
- センサトランスミッタ
- 回路ブレーカ
- センサシグナルコンディショニング
- 有線産業通信
- 光学モジュール
- バッテリ・パック管理
- 課金タグ
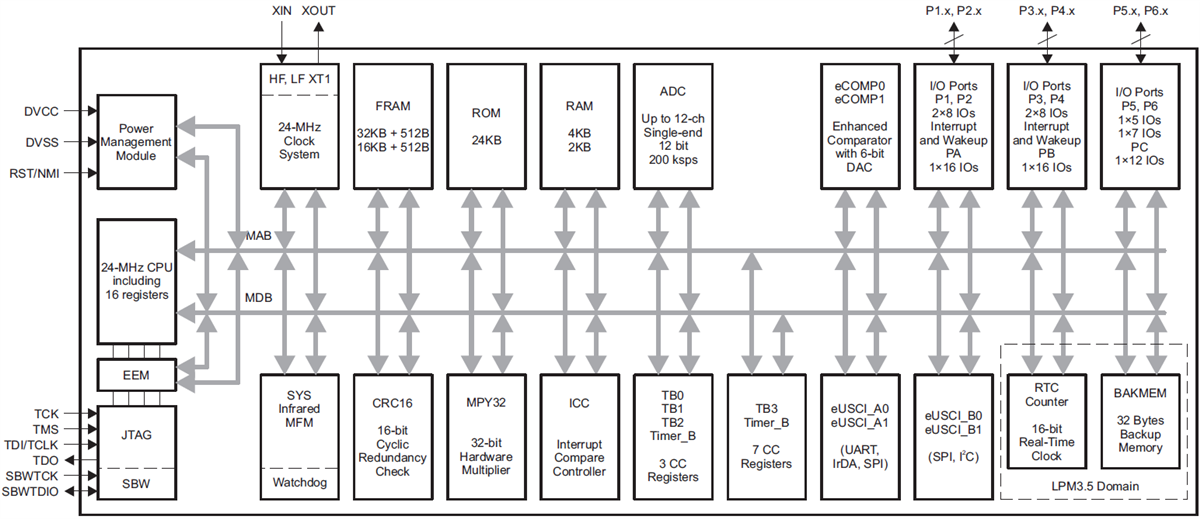
MSP430FR215xのブロック図
MSP430FR235xのブロック図
公開: 2018-08-01
| 更新済み: 2025-04-16
