Texas Instruments MSP430FR263x / MSP430FR253x低消費電力MCU
Texas Instruments MSP430FR263x / MSP430FR253x超低消費電力マイクロコントローラは、FRAMベースの超低消費電力MSPマイクロコントローラで、CapTIvateタッチ技術を採用しています。これらは、ボタン、スライダー、ホイール(BSW)、近接アプリケーション用に設計されています。CapTIvate技術は、最低消費電力での高い信頼性とノイズ耐性を備えた、市場で最高分解能の容量タッチソリューションを実現しています。CapTIvate技術は、柔軟性を最大限にするために、同じ設計での同時自己容量および相互容量電極に対応しています。CapTIvate設計センターを使用することで、簡単に使用できるGUIを利用してBSWアプリケーションを迅速に開発できます。特徴
- 組み込みマイクロコントローラ:
- 16ビットRISCアーキテクチャ
- クロックが最大16MHzの周波数に対応
- 広い供給電圧範囲(1.8V~3.6V)(最低供給電圧は、SVSレベルによって制限されている)
- 最適化された超低消費電力モード:
- アクティブ・モード: 126µA/MHz(typical)
- スタンバイ
- 1.7µA/ボタン平均(typical)(16の自己容量ボタン、8Hzスキャニング)
- 1.7µA/ボタン平均(typical)(64の相互容量ボタン、8Hzスキャニング)
- 32768HzクリスタルでのLPM3.5リアルタイム・クロック(RTC)カウンタ: 770nA(typical)
- シャットダウン(LPM4.5): 15nA(typical)
- 低消費電力Ferroelectric RAM(FRAM):
- 最大15.5KBの不揮発性メモリ
- 内蔵エラー補正コード(ECC)
- 構成可能な書き込み保護
- 一元化されたプログラム、定数、ストレージ
- 1015回の書き換えサイクル耐久性
- 耐放射線性および非磁性
- 最大4:1の高FRAM対SRAM比率
- インテリジェントなデジタル周辺機器:
- 4個の16ビットタイマ
- それぞれ3つの収集/比較レジスタを備えた2つのタイマ(Timer_A3)
- それぞれ2つの収集/比較レジスタを備えた2つのタイマ(Timer_A2)
- CapTIvate技術に関連した一つの16ビット・タイマ
- 1個の16ビット・カウンタ専用RTC
- 16ビット対応巡回冗長検査(CRC))
- 4個の16ビットタイマ
- 拡張シリアル通信:
- 2つの強化されたユニバーサル・シリアル通信インターフェイス(eUSCI_A)が、UART、IrDA、SPIに対応
- 1つのeUSCI(eUSCI_B)がSPIとI2Cに対応
- 高性能アナログ:
- 8チャンネル10ビットアナログデジタルコンバータ(ADC)
- 内部1.5Vリファレンス
- スマートアンドホールド: 200ksps
- CapTIvate Technology - 容量性タッチ
- 性能:
- 4つ同時スキャンによる高速電極スキャニング
- >1024ポイントの高分解能スライダに対応
- 30cm近接検出
- 性能:
- 信頼性:
- 電源線、RF、その他の環境ノイズに対する耐性が向上
- 内蔵スペクトラム拡散、自動チューニング、ノイズフィルタリング、デバウンスアルゴリズム
- 10V RMSコモンモード・ノイズ、4kV電気的高速過渡電流、15kV静電放電が備わっている信頼性の高いタッチ・ソリューションで、IEC-61000-4-6、IEC-61000-4-4、IEC-61000-4-2に準拠
- 電気設計を可能にするためにRFエミッションを低減
- メタルタッチと水の除去設計に対応
- 柔軟性:
- 最高16の自己容量および64の相互容量電極
- 同じ設計において、自己容量と相互容量電極を混合および整合
- マルチタッチ機能をサポート
- 広範な静電容量検出、0~300pFの広範な電極範囲
- 低消費電力:
- CPUを休止させつつ容量測定とタッチ検出をハードウェア・ステート・マシンが行うWake-on-Touchモードで< 0.9µA
- Wake-on-Touchステート・マシンによって、 CPUがスリープ状態で電極のスキャンが可能
- 環境補正、フィルタリング、閾値検知を目的としたハードウェア加速
- 使いやすさ:
- CapTIvate設計センター、PC GUIによって、エンジニアは、コード記述を必要とすることなく容量ボタンの設計と調整がリアルタイムに可能
- ROMでのCapTIvateソフトウェア・ライブラリによって、顧客のアプリケーションのための十分なFRAMが実現
- 使いやすさ:
- 8チャンネル10ビットアナログデジタルコンバータ(ADC)
- クロックシステム(CS):
- オンチップ32kHz RC発振器(REFO)
- 周波数ロックループ(PLL)を用いたオンチップ16MHzデジタル制御発振器(DCO)
- 室温でオンチップ・リファレンスを用いて±1%の精度
- オンチップ超低周波数10kHz発振器(VLO)
- オンチップ高周波数変調発振器(MODOSC)
- 外部32kHz水晶発振器(LFXT)
- 1~128のプログラマブルMCLKプリスケーラ
- 1、2、4、または8のプログラマブル・プリスケーラー付MCLKから派生したSMCLK
- 一般的な入力/出力およびピン機能:
- TSSOP-32パッケージでの合計19のI/O
- 16本の割り込みピン(P1およびP2)が低消費電力モードからMCUを起動
- 開発ツールとソフトウェア
- 使用が簡単なエコシステム
- CapTIvate設計センター - コード生成、カスタマイズ可能なGUI、リアルタイム調整
- 無料のプロフェッショナル開発環境
- 12KB ROMライブラリに、CapTIvate Touchライブラリとドライバ・ライブラリを含む
- ファミリのメンバ:
- MSP430FR2633: 15KBのプログラムFRAM + 512Bの情報FRAM + 最大16の自己容量4KB RAMおよび64の相互静電容量センサ
- MSP430FR2533: 15KBのプログラムFRAM + 512Bの情報FRAM + 最大16の自己容量2KB RAMまたは16の相互静電容量センサ
- MSP430FR2632: 8KBのプログラムFRAM + 512Bの情報FRAM + 最大8の自己容量2KB RAMまたは16の相互静電容量センサ
- MSP430FR2532: 8KBのプログラムFRAM + 512Bの情報FRAM + 最大8の自己容量1KB RAMまたは8の相互静電容量センサ
アプリケーション
- サーモスタット
- 電子アクセス制御
- 照明制御
- 電子ドア・ロック
- 白物家電
- 小型電化製品
- パーソナル・エレクトロニクス
ビデオ
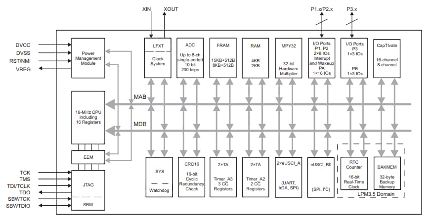
機能ブロック図
公開: 2016-02-17
| 更新済み: 2025-04-16
