Texas Instruments MSP430G2231-EP MSP430™ Value Line Microcontroller
Texas Instruments MSP430G2231-EP MSP430™ Value Line Microcontroller (MCU) is available in the extended (-40°C/+125°C) temperature range. TI MSP430G2231 has a 10-bit analog-to-digital converter and built-in communication capability using synchronous protocols (SPI or I2C). Typical applications include low-cost sensor systems that capture analog signals, convert them to digital values, and then process the data for display or for transmission to a host system.Features
- -40°C/125°C temperature range
- Extended life cycle
- Low Supply-Voltage Range: 1.8V to 3.6V voltage range
- Ultra-low power
- 220µA at 1MHz, 2.2V (active)
- 0.5µA (standby)
- 0.1µA (off mode, RAM retention)
- Five power-saving modes
- Less than 1µs wake up from standby mode
- 16-Bit RISC architecture, 62.5-ns instruction cycle time
Applications
- Sensor systems
- Medical
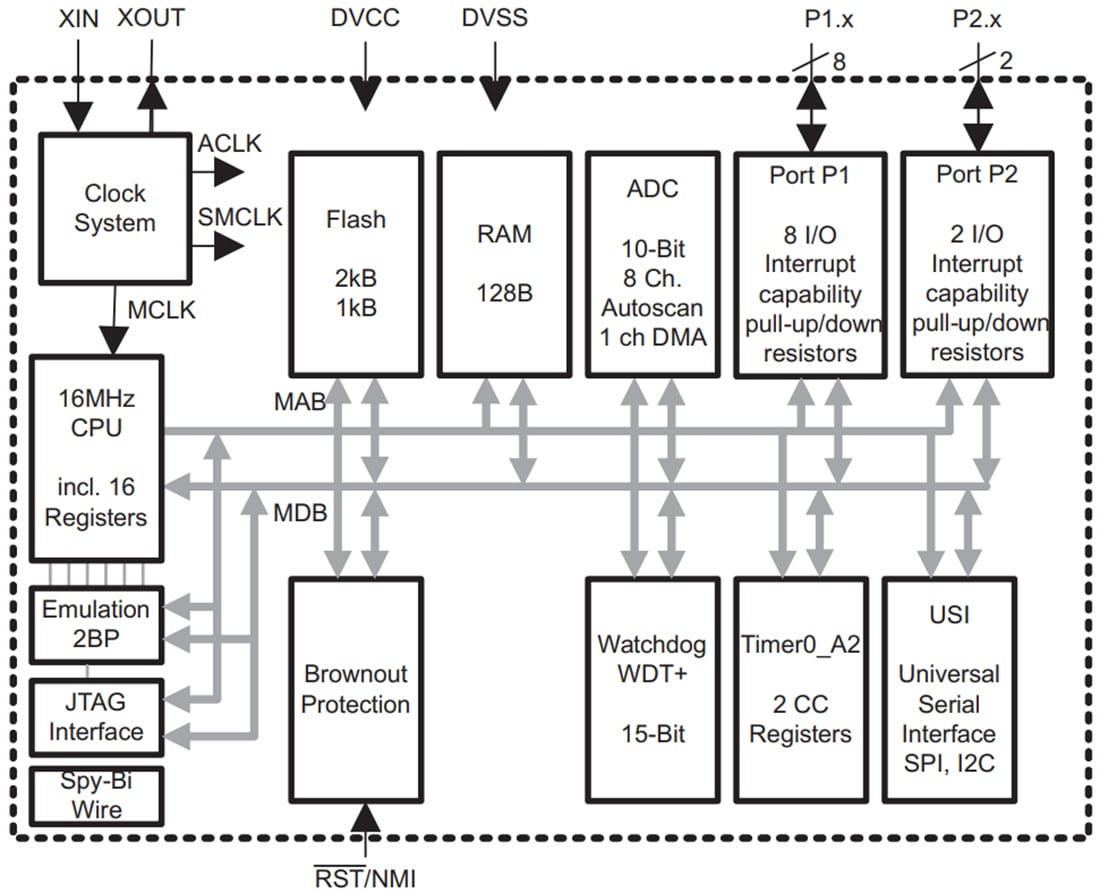
Functional Block Diagram
公開: 2012-08-01
| 更新済み: 2025-04-16
