Texas Instruments OPAx191 36V Eトリムオペレーショナルアンプ
Texas Instruments OPAx191 36V Eトリムオペレーショナルアンプには、際立ったDC精密性およびAC性能が備わっています。 またレイルツーレイル入出力、低オフセット(標準±5µV)、低オフセットドリフト(標準±0.2µV/°C)、2MHz帯域といった性能もあります。 これらのアンプには、供給レールや高出力電流(±65mA)に対する差動入力電圧範囲といった、独自の機能があります。 また、最大1nFの高電気容量負荷ドライブ、および高スルーレート(5V/µs)が含まれます。 このためOPAx191は、高電圧の産業アプリケーションに最適な堅牢で高性能なオペレーショナルアンプとなります。 これらのデバイスは、シングル(OPA191)、デュアル(OPA2191)、クアッド(OPA4191)パッケージを採用しています。特徴
- ±5µV Low offset voltage
- ±0.1µV/°C Low offset voltage drift
- 15nV/√Hz at 1kHz Low noise
- 140dB High common-mode rejection
- ±5pA Low bias current
- Rail-to-rail input and output
- 2.5MHz GBW wide bandwidth
- 5V/µs High slew rate
- 140µA per Amplifier low quiescent current
- ±2.25V to ±18V, 4.5V to 36V Wide supply
- EMI/RFI Filtered inputs
- Differential input voltage range to supply rail
- 1nF High capacitive load drive capability
アプリケーション
- Multiplexed data-acquisition systems
- Test and measurement equipment
- High-resolution ADC driver amplifiers
- SAR ADC Reference buffers
- Programmable logic controllers
- High-side and low-side current sensing
- High precision comparator
Additional Resources
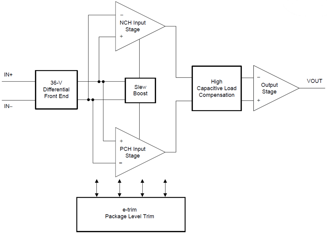
Functional Block Diagram
公開: 2016-04-11
| 更新済み: 2024-01-05
