Texas Instruments OPAx196低消費電力オペレーショナルアンプ
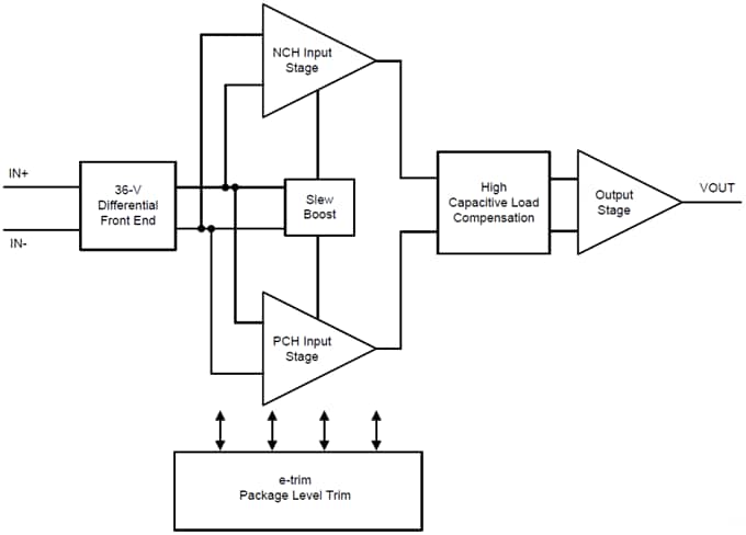
Texas Instruments OPAx196低消費電力万能オペレーショナルアンプは、新世代の36V、レール・ツー・レール、e-trim™オペレーショナルアンプ(オペアンプ)です。これらのデバイスには、非常に低いオフセット電圧(±25µV、typ)、ドリフト(±0.5µV/°C、typ)、低バイアス電流(±5pA、typ)が備わっています。これらの機能は、出力範囲全体にわたって非常に低い自己消費電流(140µA/チャンネル、typ)と組み合わされています。独自の機能には、電源レール、高出力電流(±65mA)、最大1nFの高容量負荷ドライブに対する差動入力電圧範囲があります。このため、OPAx196は、高電圧の産業アプリケーション向けの堅牢で高性能なオペレーショナルアンプとなっています。特徴
- 低オフセット電圧: ±100µV(max)
- 低オフセット電圧ドリフト: ±0.5µV/°C(typ)
- 低バイアス電流: ±5pA(typ)
- 高コモンモード除去: 140dB
- 低ノイズ: 1kHzで15nV/√Hz
- レール・ツー・レール入出力
- 供給レールに対する差動入力電圧範囲
- 広帯域幅: 2.5MHz GBW
- 低自己消費電流: アンプあたり140µA(typ)
- 広い電源: ±2.25V~±18V、4.5V~36V
- EMI/RFIフィルタ入力
- 高い容量性負荷駆動能力: 1nF
- 業界標準パッケージ
- SOIC-8、SOT-5、VSSOP-8でのシングル
- デュアルSOIC-8およびVSSOP-8
- SOIC-14、TSSOP-14、QFN-16でのクワッド
アプリケーション
- 多重データ収集システム
- 試験機器および測定機器
- 高解像度ADCドライバアンプ
- SAR ADCリファレンスバッファ
- アナログ入力と出力モジュール
- ハイサイドおよびローサイド電流検出
- 高精度コンパレータ
- 医療計測機器
機能ブロック図
公開: 2017-10-06
| 更新済み: 2022-06-27
