外付け抵抗を使用して、OPA862を他のゲインに設定することができます。OPA862アンプは、400MHzの広い利得帯域幅と 140V/µs のスルーレートを特徴としています。この機能により、同等のシングルエンド-差動ADCドライバに比べて、卓越した直線性と高速セトリング、18ビット性能が実現します。アンプには、出力同相電圧を設定するための基準入力ピンがあります。
OPA862は、3V~12.6Vの広い電源範囲で動作し、レール・ツー・レール出力段を提供することを完全に特徴としています。OPA862は、Texas Instruments独自の高速シリコン・ゲルマニウム(SiGe)プロセスを使用して製造され、18ビット・システム用の卓越した歪み性能を達成しています。デバイスに含まれる追加機能として、パワーダウン状態でわずか12µAの静止電流を消費するディセーブル・モードがあります。
Texas Instruments OPA862シングルエンド-差動アンプは、-40℃~+125°Cの拡張産業用温度範囲で動作する定格を備えています。
特徴
- 3V~12.6Vの広い供給範囲
- 325MΩの高入力インピーダンス
- 電圧ノイズ
- 入力参照(f ≥5kHz):2.3nV/√Hz
- 出力参照(f ≥10kHz):8.3nV/√Hz
- 差動出力オフセット±700µV(最大
- ±1.5µV/℃(標準)出力オフセット・ドリフト
- ±5nA(標準)A2 バイアス電流キャンセル、IB
- 400MHz利得帯域幅積
- 44MHz(G = 2V/V) 小信号帯域幅
- 140V/µs スルーレート
- -122dBc、-140dBc HD2、HD3(VOD =10VPP,50kHz)
- レールツーレール出力: 高リニア出力電流:60mA(標準)
- 3.1mA自己消費電流
- 12µA静止電流によるディセーブルモード
- 拡張温度動作:-40°C~+125°C
アプリケーション
- 16ビットおよび18ビットADCドライバ
- メモリとLCDテスタ
- データアクイジション(DAQ)
- 試験および測定
- トランスインピーダンスアンプ(TIA)
- Class-Dオーディオアンプドライバ
- 圧電センサインターフェイス
- 医療用計測機器
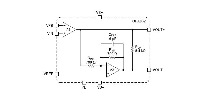
機能図
公開: 2020-04-13
| 更新済み: 2024-06-05

