Texas Instruments テキサス・インスツルメンツ PCM1804 ステレオ AD コンバータ
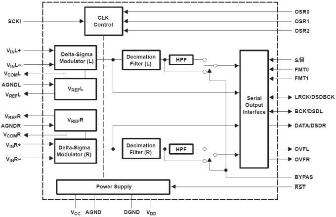
テキサス・インスツルメンツのステレオADコンバータPCM1804は、完全差動アナログ電圧入力の高性能シングルチップ・ステレオA/Dコンバータです。PCM1804は、高精度のデルタ・シグマ変調器を使用し、入力信号からdcオフセットを除去する線形位相アンチエイリアス・デジタル・フィルタとハイパス・フィルタ(HPF)を搭載しています。PCM1804は、優れた性能、5Vのアナログ用電源の動作、3.3Vのデジタル電源の動作を必要とする中級から高級の多種多様な消費者向け・プロ向けアプリケーションに適しています。PCM1804は、高精度のデルタ・シグマ変調器によってPCMオーディオとDSD形式の両方を達成することが可能です。PCM1804は、先進的なCMOSプロセスで製造されており、小型の28ピンSSOPパッケージでご提供しています。特徴
- 24-Bit Delta-Sigma Stereo A/D Converter
- High Performance
- 112dB (Typical) Dynamic Range
- SNR: 111dB (Typical)
- -102dB (Typical) THD+N
- High-Performance Linear Phase Antialias Digital Filter
- ±0.005dB Pass-Band Ripple
- -100dB Stop-Band Attenuation
- ±2.5V Fully Differential Analog Input:
- Audio Interface (Master- or Slave-Mode Selectable)
- Data Formats (Left-Justified, I2S, Standard 24-Bit, and DSD)
- Function:
- Peak Detection
- -3dB at 1Hz, fS = 48kHz High-Pass Filter (HPF)
- Sampling Rate up to 192kHz
- System Clock (128fS, 256fS, 384fS, 512fS, or 768fS)
- Dual Power Supplies
- 5V for Analog
- 3.3V for Digital
- 225mW Power Dissipation
- Small 28-Pin SSOP
- DSD Output (1 Bit, 64fS)
アプリケーション
- AV Amplifier
- MD Player
- Digital VTR
- Digital Mixer
- Digital Recorder
Functional Block Diagram
公開: 2014-09-09
| 更新済み: 2022-03-11
